
În temeiul dispoziţiilor art. 7 alin. (5) din Ordonanţa de urgenţă a Guvernului nr. 30/2007 privind organizarea şi funcţionarea Ministerului Afacerilor Interne, aprobată cu modificări prin Legea nr. 15/2008, cu modificările şi completările ulterioare,ministrul afacerilor interne emite următorul ordin: Articolul 1Se aprobă Regulamentul de organizare şi funcţionare al Centrului de Psihosociologie al Ministerului Afacerilor Interne, prevăzut în anexa care face parte integrantă din prezentul ordin. Articolul 2Prezentul ordin se publică în Monitorul Oficial al României, Partea I. Ministrul afacerilor interne, Radu Stroe
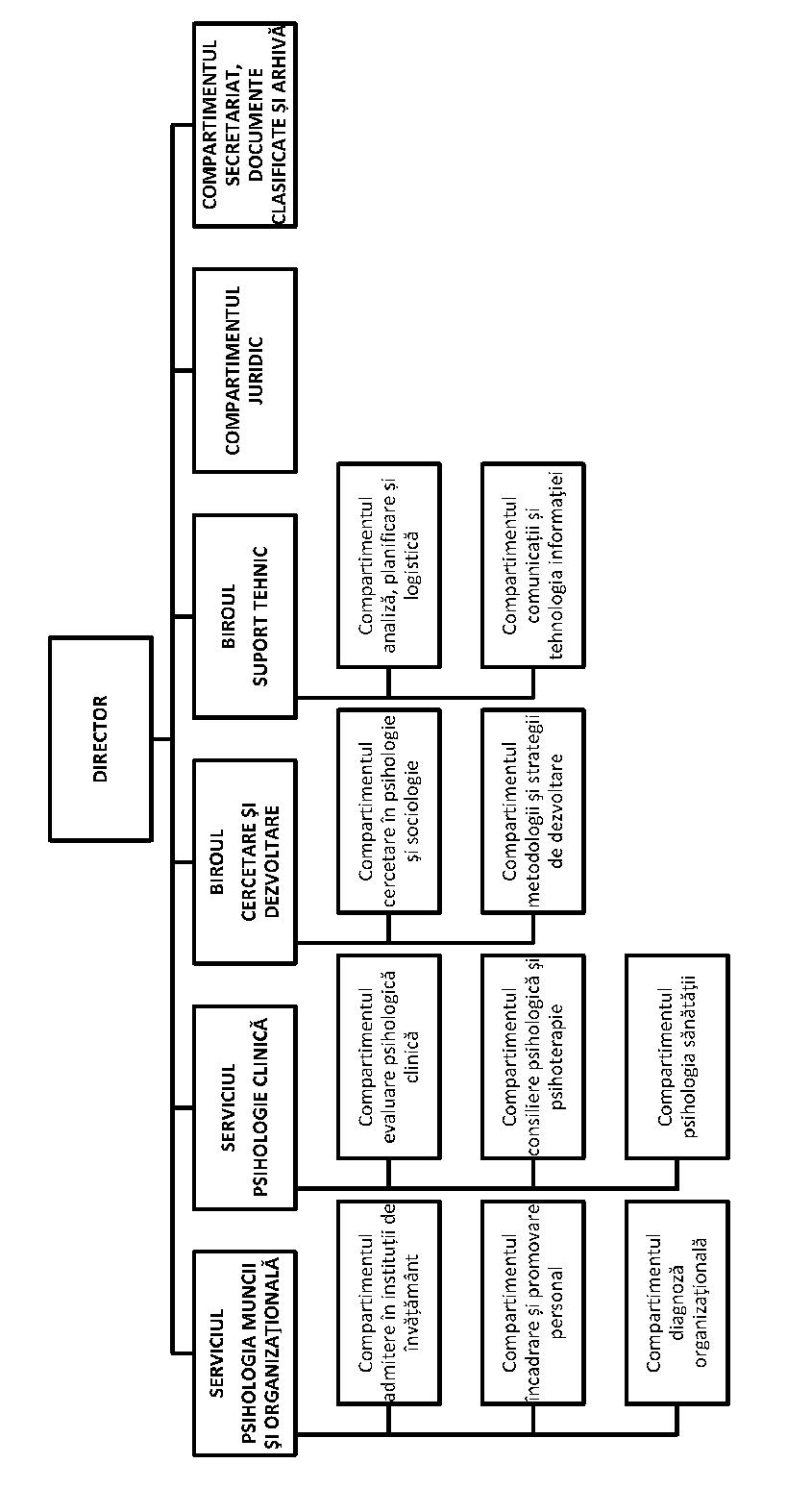
ANEXĂREGULAMENT de organizare şi funcţionare al Centrului de Psihosociologie al Ministerului Afacerilor Interne Capitolul IDispoziţii generale Articolul 1Centrul de Psihosociologie al Ministerului Afacerilor Interne, denumit în continuare Centrul, este organizat şi funcţionează în baza prevederilor Ordonanţei de urgenţă a Guvernului nr. 30/2007 privind organizarea şi funcţionarea Ministerului Afacerilor Interne, aprobată cu modificări prin Legea nr. 15/2008, cu modificările şi completările ulterioare, ale Hotărârii Guvernului nr. 416/2007 privind structura organizatorică şi efectivele Ministerului Afacerilor Interne, cu modificările şi completările ulterioare, şi ale prezentului regulament. Articolul 2(1) Centrul este unitatea de specialitate subordonată Ministerului Afacerilor Interne, denumit în continuare minister, fără personalitate juridică, care exercită competenţe în domeniul reglementării, îndrumării, coordonării şi controlului activităţii de psihologie desfăşurate de către structurile de profil şi personalul specializat din unităţile ministerului.(2) Competenţele prevăzute la alin. (1) nu se exercită în ceea ce priveşte reglementarea, îndrumarea, coordonarea şi controlul personalului şi al structurilor de specialitate din domeniul evaluării comportamentului simulat prin tehnica poligraf. Articolul 3 (1) Centrul desfăşoară, potrivit legii şi prezentului regulament, activităţi specializate care vizează descrierea, clasificarea, explicarea, predicţia şi optimizarea comportamentului uman, precum şi măsurarea, analiza şi interpretarea faptelor, proceselor şi fenomenelor sociale la nivelul structurilor ministerului, prin aplicarea conceptelor, teoriilor, metodelor şi tehnicilor specifice psihologiei, respectiv sociologiei, în scopul susţinerii proiectării şi aplicării unui management performant al resurselor umane, asigurării securităţii şi sănătăţii ocupaţionale, cunoaşterii şi ameliorării climatului organizaţional, precum şi analizei/fundamentării, din perspectivă psihosocială, a unor opţiuni/decizii ale conducerii ministerului.(2) Centrul desfăşoară, potrivit competenţelor, activităţi referitoare la stabilirea, într-o concepţie unitară şi coerentă, în acord cu exigenţele profesiei de psiholog cu drept de liberă practică, precum şi cu nevoile şi aşteptările instituţiei, a principiilor şi regulilor după care se desfăşoară activitatea de psihologie în cadrul ministerului, precum şi la controlul şi monitorizarea modului de aplicare a acestora. Articolul 4 (1) Centrul se organizează şi funcţionează ca structură de psihologie a ministerului, cu respectarea prevederilor legale în vigoare referitoare la exercitarea profesiei de psiholog cu drept de liberă practică şi pe baza avizului emis de Colegiul Psihologilor din România.(2) Centrul întreprinde formalităţile prevăzute de legislaţia în vigoare pe lângă Colegiul Psihologilor din România pentru eliberarea avizului de funcţionare şi pentru comunicarea, în termenul legal, a tuturor modificărilor intervenite cu privire la condiţiile care au stat la baza eliberării acestuia. Articolul 5În îndeplinirea atribuţiilor, Centrul cooperează cu departamentul/direcţiile generale/direcţiile aparatului central şi subordonate acestuia, inspectoratele generale (similare) şi cu unităţile din subordinea acestora şi colaborează, pe probleme de interes comun, potrivit actelor normative în vigoare, cu instituţii şi organisme din ţară şi din străinătate. Capitolul IIOrganizarea Centrului Articolul 6 (1) Centrul are următoarea structură organizatorică:a)conducerea; b)Serviciul psihologia muncii şi organizaţională, format din:
|
|
(i) |
Compartimentul admitere în instituţii de învăţământ; |
|
|
(ii) |
Compartimentul încadrare şi promovare personal; |
|
|
(iii) |
Compartimentul diagnoză organizaţională; |
c)Serviciul psihologie clinică, format din:
|
|
(i) |
Compartimentul evaluare psihologică clinică; |
|
|
(ii) |
Compartimentul consiliere psihologică şi psihoterapie; |
|
|
(iii) |
Compartimentul psihologia sănătăţii. |
d)Biroul cercetare şi dezvoltare, format din:
|
|
(i) |
Compartimentul cercetare în psihologie şi sociologie; |
|
|
(ii) |
Compartimentul metodologii şi strategii de dezvoltare; |
e)Biroul suport tehnic, format din:
|
|
(i) |
Compartimentul analiză, planificare şi logistică; |
|
|
(ii) |
Compartimentul comunicaţii şi tehnologia informaţiei; |
f)Compartimentul juridic; g)Compartimentul secretariat, documente clasificate şi arhivă. (2) Organigrama Centrului este prezentată în anexa nr. 1.(3) Diagrama principalelor relaţii ale Centrului este prevăzută în anexa nr. 2 Articolul 7Şefii serviciilor/birourilor şi coordonatorii compartimentelor independente răspund în condiţiile legii, potrivit fişei posturilor, în faţa directorului Centrului sau a înlocuitorului legal, de activitatea structurilor organizatorice pe care le conduc/coordonează. Capitolul IIIAtribuţiile Centrului Articolul 8 (1) Centrul are următoarele atribuţii generale:a)execută sau coordonează, după caz, măsuri pentru proiectarea şi optimizarea cadrului normativ, conceptual, procedural şi metodologic al activităţilor din sfera de responsabilitate; b)asigură concepţia unitară a organizării şi desfăşurării activităţii de psihologie din competenţă şi avizează metodologiile/procedurile de lucru ale structurilor de specialitate aflate în coordonare; c)planifică, organizează şi desfăşoară activitatea de evaluare psihologică în scopul participării la concursurile de admitere în instituţiile de formare a personalului ministerului, selecţionării în vederea încadrării/angajării, trecerii poliţiştilor/cadrelor militare într-o categorie/corp superior, promovării în funcţii de conducere, transferului în minister al unor specialişti din instituţiile publice de apărare şi siguranţă naţională, stabilirii situaţiei medico-profesionale/militare pe baza diagnosticului psihiatric, participării la misiuni internaţionale şi multinaţionale, îndeplinirii funcţiilor de reprezentare externă, executării activităţilor/misiunilor care expun personalul angajat în desfăşurarea lor la riscuri psihosociale, exercitării controlului financiar preventiv propriu, atestării pentru activităţi cu cifru, atestării instructorilor şi evaluatorilor conducătorilor auto, acordării dreptului de a conduce autovehicule aparţinând unităţilor ministerului, precum şi în alte situaţii prevăzute de reglementările în vigoare; d)analizează şi soluţionează contestaţiile cu privire la avizul psihologic, formulate în condiţiile legii; e)asigură asistenţa psihologică a personalului unităţilor din componenţa aparatului central al ministerului şi subordonate acestuia care nu au încadrat psiholog; f)organizează şi desfăşoară activităţi de diagnoză organizaţională la nivelul structurilor ministerului; g)organizează şi desfăşoară sondaje de opinie, anchete şi cercetări sociologice în rândul personalului ministerului şi, dacă se impune, al cetăţenilor beneficiari ai serviciilor prestate de structurile ministerului şi/sau în cadrul instituţiilor colaboratoare; h)planifică, organizează şi desfăşoară activităţi de cercetare psihologică aplicativă în scopul fundamentării ştiinţifice şi al creşterii calităţii actului psihologic; i)stabileşte/actualizează criteriile de încadrare a activităţilor în condiţii cu grad ridicat de risc psihosocial şi coordonează studiile de analiză psihologică a activităţii profesionale; j)coordonează, controlează şi monitorizează activitatea desfăşurată de structurile/personalul cu atribuţii în domeniul activităţii de psihologie cu privire la modul de aplicare şi respectare a cadrului normativ intern specific activităţii de psihologie, din aria de competenţă; k)stabileşte atribuţiile generale pentru structurile de profil, respectiv personalul de specialitate, aflate în coordonare, pe care le modifică sau le completează, după caz, ori de câte ori este nevoie; l)organizează şi desfăşoară activitatea de verificare a cunoştinţelor, aptitudinilor şi competenţelor de/în specialitate, în cadrul comisiilor de concurs/examen organizate în conformitate cu activitatea specifică pe linia resurselor umane privind ocuparea posturilor vacante cu atribuţii în domeniul activităţii de psihologie; m)asigură formarea profesională continuă a personalului unităţii; n)organizează periodic, singur sau în colaborare cu inspectoratele generale, direcţiile generale/direcţiile şi instituţiile de învăţământ din structura ministerului, convocări de specialitate, în scopul analizării dificultăţilor apărute în activitate, diseminării informaţiilor, a experienţei şi a bunelor practici, precum şi al clarificării unor aspecte concrete ale exercitării profesiei de psiholog şi aplicării unitare a dispoziţiilor legale din domeniu; o)organizează şi desfăşoară, în condiţiile legii, stagii de practică de specialitate în domeniul psihologiei şi al sociologiei pentru studenţii/masteranzii din cadrul instituţiilor de învăţământ superior civile; p)propune şi desfăşoară activităţi de relaţii internaţionale în domeniul de competenţă, în conformitate cu interesele instituţiei şi potrivit procedurilor legale stabilite; q)organizează şi desfăşoară activităţile pentru gestiunea datelor specifice şi stabileşte formularele şi termenele necesare întocmirii situaţiilor statistice; r)constituie, gestionează şi actualizează, în conformitate cu reglementările în vigoare, baze de date specifice necesare îndeplinirii atribuţiilor; s)analizează şi avizează, în limita competenţelor, achiziţia de instrumente, metode şi tehnici de specialitate care urmează să fie utilizate în activitatea de psihologie de către unităţile din structura ministerului; t)organizează şi desfăşoară, în colaborare cu Institutul de Studii pentru Ordine Publică, cursurile de carieră şi de perfecţionare curentă a activităţii destinate psihologilor încadraţi în unităţi centrale şi teritoriale ale ministerului; u)participă, prin personalul anume desemnat, la manifestări cu caracter ştiinţific şi profesional de profil, precum şi la realizarea unor relaţii de colaborare şi parteneriat proprii, în domeniul său de competenţă; v)asigură susţinerea de activităţi didactice ce vizează problematici din domeniul activităţii de psihologie în cadrul cursurilor de management şi formare monitori ONU/UE organizate de Institutul de Studii pentru Ordine Publică; w)elaborează şi prezintă conducerii ministerului, ori de câte ori este nevoie, analize, studii şi informări pe probleme din sfera sa de activitate; x)asigură informatizarea activităţilor proprii şi aplicarea corespunzătoare a politicii INFOSEC în ceea ce priveşte Sistemul informatic şi de comunicaţii deţinut; y)proiectează şi aplică măsurile tehnice şi organizatorice adecvate pentru asigurarea securităţii şi protecţiei materialelor şi instrumentelor de specialitate, precum şi a confidenţialităţii rezultatelor acestora, a însemnărilor şi înregistrărilor cu caracter profesional, împotriva scurgerii de informaţii accidentale sau ilegale, pierderii, modificării, dezvăluirii ori accesului neautorizat la acestea; z)asigură redactarea, evidenţa, primirea, trierea, repartizarea, urmărirea soluţionării, multiplicarea, manipularea, expedierea, păstrarea şi arhivarea documentelor clasificate/neclasificate necesare desfăşurării propriei activităţi;aa) propune şi aplică măsuri privind dotarea/aprovizionarea cu materiale şi mijloace tehnice necesare bunei funcţionări. (2) Centrul îndeplineşte şi alte atribuţii legate de specificul său de activitate, stabilite prin acte normative în vigoare sau prin dispoziţii ale conducerii ministerului. Capitolul IVConducerea Centrului Articolul 9 (1) Conducerea Centrului este asigurată de director.(2) Directorul răspunde în faţa ministrului afacerilor interne şi a secretarului general de întreaga activitate pe care o desfăşoară Centrul.(3) Fişa postului directorului este prevăzută în anexa nr. 3. Articolul 10 (1) Directorul conduce întreaga activitate a Centrului, îl reprezintă şi îl angajează în relaţiile cu celelalte unităţi ale ministerului, cu structurile de profil din cadrul instituţiilor şi organismelor din afara ministerului, precum şi cu persoane juridice şi fizice.(2) Directorul poate delega, prin dispoziţie, în condiţiile actelor normative în vigoare, atribuţii din competenţa sa altor persoane din subordine. Articolul 11(1) În baza şi executarea actelor normative de nivel superior, a ordinelor/instrucţiunilor ministrului afacerilor interne şi a dispoziţiilor secretarului general, directorul emite dispoziţii obligatorii pentru personalul din subordine, precum şi dispoziţii privind activitatea de psihologie în cadrul ministerului.(2) Directorul formulează solicitări, îndrumări sau precizări pentru structurile/personalul cu atribuţii în domeniul activităţii de psihologie aflate în coordonarea Centrului pe linie de specialitate. Articolul 12Pentru rezolvarea unor probleme deosebit de importante şi complexe legate de activitatea de psihologie în minister, directorul poate constitui, prin dispoziţie, în condiţiile reglementărilor în vigoare, grupuri de lucru sau comisii pe problematici, programe ori proiecte, în compunerea cărora se regăseşte personal de specialitate aflat în coordonarea Centrului pe linie profesională. Articolul 13Organizarea şi modalităţile de planificare a activităţilor desfăşurate de Centru, precum şi de evaluare a activităţilor desfăşurate de către structurile acestuia se stabilesc prin dispoziţie a directorului. Capitolul VAtribuţiile serviciilor, compartimentelor şi birourilor din structura organizatorică a Centrului Secţiunea 1Atribuţiile Serviciului psihologia muncii şi organizaţională Articolul 14Serviciul psihologia muncii şi organizaţională are următoarele atribuţii derivate din atribuţiile generale ale Centrului: a)elaborează şi actualizează, ori de câte ori este necesar, cadrul metodologic şi procedural necesar desfăşurării activităţii de evaluare psihologică în vederea participării la concursurile de admitere în instituţiile de formare a personalului ministerului sau în cele care pregătesc personal pentru minister, încadrării/angajării, trecerii poliţiştilor/cadrelor militare într-o categorie/corp superior, transferului în minister al unor specialişti din instituţiile publice de apărare şi siguranţă naţională, precum şi promovării în funcţii de conducere; b)elaborează şi actualizează, ori de câte ori este necesar, metodologia de lucru şi procedura specifică privind diagnoza organizaţională realizată de către Centru; c)efectuează evaluări, când este cazul, cu privire la eficacitatea şi eficienţa activităţilor specifice prevăzute la lit. a) şi b) şi formulează propuneri de îmbunătăţire a acestora; d)iniţiază şi realizează activităţi de documentare şi, după caz, cercetare ştiinţifică necesare fundamentării şi optimizării activităţilor specifice prevăzute la lit. a) şi b); e)elaborează sau participă la elaborarea de strategii, politici, planuri de acţiune, programe, proiecte şi proceduri în domeniul de activitate al Centrului, precum şi la implementarea, monitorizarea şi actualizarea acestora, în scopul îmbunătăţirii permanente; f)întocmeşte, atunci când este necesar, analize, studii şi informări pe diverse teme din domeniul de competenţă, pe baza datelor deţinute sau furnizate de celelalte structuri ale Centrului; g)propune sau realizează, după caz, în condiţiile actelor normative în vigoare, activităţi de relaţii internaţionale; h)analizează periodic necesarul de materiale, metode, tehnici şi instrumente de specialitate pentru desfăşurarea în bune condiţii a activităţilor specifice prevăzute la lit. a) şi b) şi, după caz, iniţiază, propune sau ia măsuri în vederea asigurării acestuia; i)elaborează sau participă la elaborarea, împreună cu alte structuri din cadrul Centrului, a conţinutului şi modelelor formularelor şi imprimatelor tipizate utilizate în activitatea de evaluare psihologică şi diagnoză organizaţională; j)participă, când este cazul, prin specialişti desemnaţi de conducerea unităţii, la efectuarea unor acţiuni de coordonare, îndrumare şi control care vizează activitatea profesională a structurilor de profil şi personalului de specialitate din unităţile ministerului; k)participă, prin specialişti desemnaţi, în cadrul comisiilor de soluţionare a contestaţiilor cu privire la avizul psihologic, precum şi în grupuri de lucru constituite în vederea îndeplinirii unor obiective specifice; l)asigură securitatea şi protecţia materialelor şi instrumentelor de specialitate, precum şi confidenţialitatea datelor deţinute; m)îndeplineşte orice alte atribuţii din domeniul său de activitate, prevăzute de actele normative în vigoare sau dispuse de conducerea Centrului. Articolul 15 (1) Compartimentul admitere în instituţii de învăţământ din cadrul Serviciului psihologia muncii şi organizaţională are următoarele atribuţii specifice:a)elaborează şi actualizează metodologia de lucru şi procedura specifică cu privire la evaluarea psihologică în vederea participării la concursurile de admitere în instituţiile de formare a personalului ministerului sau în cele care pregătesc personal pentru minister; b)realizează studii şi analize privind cerinţele şi criteriile psihologice aplicabile în cazul activităţii de evaluare psihologică din sfera de competenţă şi, dacă este necesar, fundamentează şi elaborează propuneri de revizuire şi/sau operaţionalizare a acestora; c)organizează şi execută activităţi specifice privind culegerea şi prelucrarea datelor rezultate ca urmare a desfăşurării activităţii de evaluare psihologică, în vederea etalonării sau analizei psihometrice a instrumentelor de specialitate utilizate; d)întocmeşte, atunci când este necesar, materiale de informare şi documentare ce tratează subiecte de interes major şi/sau de actualitate din domeniul evaluării psihologice, în vederea selecţiei resurselor umane; e)elaborează sau participă, după caz, la redactarea unor analize, studii şi informări pe probleme din sfera sa de activitate; f)îndeplineşte orice alte atribuţii din domeniul său de activitate, prevăzute de actele normative în vigoare sau dispuse de conducerea Centrului. (2) Compartimentul încadrare şi promovare personal din cadrul Serviciului psihologia muncii şi organizaţională are următoarele atribuţii specifice:a)elaborează şi actualizează metodologia de lucru şi procedurile specifice cu privire la evaluarea psihologică în vederea încadrării/angajării, trecerii poliţiştilor/cadrelor militare într-o categorie/corp superior, transferului în minister al unor specialişti din instituţiile publice de apărare şi siguranţă naţională, precum şi ocupării funcţiilor de conducere vacante; b)realizează studii şi analize privind cerinţele şi criteriile psihologice aplicabile în cazul activităţii de evaluare psihologică din sfera de competenţă şi, dacă este necesar, fundamentează şi elaborează propuneri de revizuire şi/sau operaţionalizare a acestora; c)organizează şi execută activităţi specifice privind culegerea şi prelucrarea datelor rezultate ca urmare a desfăşurării activităţii de evaluare psihologică, în vederea etalonării sau analizei psihometrice a instrumentelor de specialitate utilizate; d)întocmeşte, atunci când este necesar, materiale de informare şi documentare ce tratează subiecte de interes major şi/sau de actualitate din domeniul evaluării psihologice, în vederea selecţiei şi promovării personalului; e)elaborează sau participă, după caz, la redactarea unor analize, studii şi informări pe probleme din sfera sa de activitate; f)îndeplineşte orice alte atribuţii din domeniul său de activitate, prevăzute de actele normative în vigoare sau dispuse de conducerea Centrului. (3) Compartimentul diagnoză organizaţională din cadrul Serviciului psihologia muncii şi organizaţională are următoarele atribuţii specifice:a)elaborează şi actualizează metodologia de lucru şi procedura specifică privitoare la diagnoza organizaţională; b)realizează, din dispoziţia conducerii Centrului, activităţi de diagnoză organizaţională; c)întocmeşte, atunci când este necesar, materiale de informare şi documentare ce tratează subiecte de interes major şi/sau de actualitate din domeniul diagnozei organizaţionale; d)elaborează sau participă, după caz, la redactarea unor analize, studii şi informări pe probleme din sfera sa de activitate; e)îndeplineşte orice alte atribuţii din domeniul său de activitate, prevăzute de actele normative în vigoare sau dispuse de conducerea Centrului. Secţiunea a 2-aAtribuţiile Serviciului psihologie clinică Articolul 16Serviciul psihologie clinică are următoarele atribuţii derivate din atribuţiile generale ale Centrului: a)elaborează şi actualizează, ori de câte ori este necesar, cadrul metodologic şi procedural necesar desfăşurării activităţilor de asistenţă psihologică şi celor de evaluare psihologică în vederea selecţionării personalului pentru îndeplinirea de sarcini, atribuţii şi misiuni în condiţii de solicitare psihică intensă, precum şi în vederea precizării gradului de diminuare a capacităţii de muncă şi clasării medicale; b)planifică, organizează şi desfăşoară activităţile de asistenţă psihologică a personalului din unităţile aparatului central şi structurilor subordonate acestuia care nu au încadrat psiholog; c)coordonează şi monitorizează activităţile de asistenţă psihologică desfăşurate de structurile/personalul cu atribuţii în domeniul activităţii de psihologie din unităţile centrale şi teritoriale ale ministerului; d)realizează evaluări privind eficacitatea şi eficienţa activităţilor de psihologie date în competenţă şi formulează propuneri pentru îmbunătăţirea acestora; e)iniţiază, coordonează sau realizează, după caz, activităţi de documentare ştiinţifică, necesare fundamentării şi optimizării activităţilor date în competenţă sau în coordonare; f)analizează periodic şi stabileşte necesarul de materiale, metode, tehnici şi instrumente de specialitate pentru desfăşurarea în bune condiţii a activităţilor din competenţă şi, după caz, iniţiază, propune sau ia măsuri de asigurare a acestora; g)participă la elaborarea sau actualizarea actelor normative care reglementează domeniile de activitate ale Centrului; h)elaborează sau participă, împreună cu alte structuri de specialitate, la elaborarea conţinutului şi modelelor formularelor tipizate utilizate în activităţile date în competenţă sau în coordonare; i)formulează propuneri şi, după caz, colaborează cu structura competentă în domeniul tehnologiei informaţiei de la nivelul Centrului pentru implementarea unor soluţii informatice care să conducă la îmbunătăţirea activităţilor specifice serviciului; j)iniţiază, coordonează sau realizează, după caz, activităţi de cercetare ştiinţifică în domeniul psihologiei clinice şi acordă sprijin şi asistenţă metodologică, la solicitare, structurilor de specialitate din cadrul sau din afara Centrului, care desfăşoară astfel de activităţi; k)iniţiază şi colaborează, după caz, la elaborarea de studii şi cercetări cu privire la aspecte sau probleme din domeniul de competenţă, de interes pentru obiectivele Centrului ori pentru conducerea ministerului; l)participă, când este cazul, prin specialişti desemnaţi de conducerea unităţii, la efectuarea unor acţiuni de coordonare, îndrumare şi control care vizează activitatea profesională a structurilor de profil şi personalului de specialitate din unităţile ministerului; m)participă, prin specialişti desemnaţi, în cadrul comisiilor de soluţionare a contestaţiilor cu privire la avizul psihologic, precum şi în grupuri de lucru constituite în vederea îndeplinirii unor obiective specifice; n)participă, prin personalul anume desemnat, la manifestări cu caracter ştiinţific şi profesional, precum şi la realizarea sau menţinerea unor relaţii de colaborare ori parteneriat ale Centrului, în domeniul său de competenţă; o)propune sau realizează, după caz, în condiţiile actelor normative în vigoare, activităţi de relaţii internaţionale; p)întocmeşte, atunci când este necesar, analize, studii şi informări pe diverse teme din domeniul de competenţă; q)îndeplineşte orice alte atribuţii din domeniul său de activitate, prevăzute de actele normative în vigoare sau dispuse de conducerea Centrului. Articolul 17(1) Compartimentul evaluare psihologică clinică din cadrul Serviciului psihologie clinică are următoarele atribuţii specifice:a)elaborează şi actualizează metodologiile de lucru şi procedurile specifice privind evaluarea psihologică clinică; b)realizează, la solicitarea Comisiei centrale de expertiză medico-militară din cadrul Direcţiei medicale, în limitele competenţelor conferite de dreptul de liberă practică atestat al ofiţerilor psihologi din componenţa sa, activităţile de evaluare psihologică în vederea precizării gradului de diminuare a capacităţii de muncă şi clasării medicale; c)asigură coordonarea activităţilor de evaluare psihologică clinică desfăşurate de psihologii încadraţi în unităţile sanitare ale ministerului; d)îndeplineşte orice alte atribuţii din domeniul său de activitate, prevăzute de actele normative în vigoare sau dispuse de conducerea Centrului. (2) Compartimentul consiliere psihologică şi psihoterapie din cadrul Serviciului psihologie clinică are următoarele atribuţii specifice:a)elaborează şi actualizează metodologiile de lucru şi procedurile specifice privind asistenţa psihologică recuperatorie; b)asigură, în limitele competenţelor conferite de dreptul de liberă practică atestat al ofiţerilor psihologi din componenţa sa, asistenţa psihologică recuperatorie a personalului din unităţile aparatului central care nu au încadrat psiholog şi a personalului din unităţile aflate pe raza municipiului Bucureşti şi a judeţului Ilfov, la solicitarea psihologilor de unitate; c)asigură coordonarea activităţilor de asistenţă psihologică recuperatorie desfăşurate de psihologii încadraţi în unităţile centrale şi teritoriale ale ministerului, inclusiv activităţi periodice de intervizare la care să participe psihologii încadraţi în structurile ministerului, atestaţi în specialităţile consiliere psihologică şi psihoterapie, care îşi desfăşoară activitatea în puncte de lucru avizate de Centru; d)îndeplineşte orice alte atribuţii din domeniul său de activitate, prevăzute de actele normative în vigoare sau dispuse de conducerea Centrului. (3) Compartimentul psihologia sănătăţii din cadrul Serviciului psihologie clinică are următoarele atribuţii specifice:a)elaborează şi actualizează metodologiile de lucru şi procedurile specifice privind evaluarea psihologică în vederea selecţionării personalului pentru îndeplinirea de sarcini, atribuţii şi misiuni în condiţii de solicitare psihică intensă, precum şi pentru asistenţa psihologică profilactică şi primară; b)identifică, potrivit competenţei, criterii de încadrare a activităţilor în condiţii cu grad ridicat de risc psihosocial; c)analizează factorii stresanţi specifici diferitelor categorii de misiuni şi comportamentele disfuncţionale care pot interveni în cadrul acestora, proiectând acţiunile şi măsurile ce se impun în scopul prevenirii şi reducerii efectelor lor; d)proiectează, coordonează, monitorizează sau desfăşoară, după caz, activităţi de evaluare psihologică, de pregătire psihologică, precum şi programe de profilaxie; e)elaborează articole şi materiale de prezentare a problemelor de actualitate din domeniul psihologiei sănătăţii; f)proiectează şi actualizează documentele şi tipizatele necesare activităţilor de asistenţă psihologică; g)îndeplineşte orice alte atribuţii din domeniul său de activitate, prevăzute de actele normative în vigoare sau dispuse de conducerea Centrului. Secţiunea a 3-aAtribuţiile Biroului cercetare şi dezvoltare Articolul 18Biroul cercetare şi dezvoltare are următoarele atribuţii derivate din atribuţiile generale ale Centrului: a)proiectează cadrul general şi aspectele metodologice specifice activităţilor de cercetare-dezvoltare în psihologie şi sociologie; b)asigură actualizarea şi adaptarea permanentă a cadrului teoretico-metodologic din sfera de responsabilitate la noile necesităţi şi condiţii impuse de evoluţia în plan organizatoric şi ştiinţific; c)proiectează, desfăşoară, coordonează sau monitorizează, după caz, activităţi de cercetare ştiinţifică în domeniile din competenţa Centrului; d)întocmeşte, atunci când este necesar, analize, studii şi informări pe diverse teme din domeniul de competenţă; e)realizează, independent sau în cooperare cu personalul de specialitate al Serviciului psihologia muncii şi organizaţională, activităţi de diagnoză organizaţională, din dispoziţia directorului; f)participă la manifestări cu caracter ştiinţific şi profesional de profil, precum şi la realizarea unor relaţii de colaborare şi parteneriat ale Centrului; g)întocmeşte materiale de informare şi documentare ce tratează subiecte de interes major şi/sau de actualitate din domeniul cercetării ştiinţifice în psihologie, sociologie şi din sfera metodologică, în scopul diseminării acestora la nivelul personalului de specialitate aflat în coordonare şi/sau al structurilor interesate din minister; h)evaluează nevoile de pregătire a ofiţerilor psihologi în domeniile de competenţă, propune participarea la activităţi de formare continuă organizate în Centru, minister sau în afara acestuia; i)participă, când este cazul, prin specialişti desemnaţi de conducerea unităţii, la efectuarea unor acţiuni de coordonare, îndrumare şi control care vizează activitatea profesională a structurilor de profil şi a personalului de specialitate din unităţile ministerului; j)participă, prin specialişti desemnaţi, în cadrul comisiilor de soluţionare a contestaţiilor cu privire la avizul psihologic, precum şi în grupuri de lucru constituite în vederea îndeplinirii unor obiective specifice; k)coordonează realizarea/adaptarea de instrumente de specialitate în domeniile din competenţa Centrului; l)analizează periodic şi stabileşte necesarul de materiale, metode, tehnici şi instrumente de specialitate pentru desfăşurarea în bune condiţii a activităţilor din competenţă şi, după caz, iniţiază, propune sau ia măsuri de asigurare a acestora; m)propune spre aprobare planul de relaţii internaţionale al Centrului şi realizează, după caz, în condiţiile actelor normative în vigoare, activităţi de relaţii internaţionale; n)îndeplineşte orice alte atribuţii din domeniul său de activitate, prevăzute de actele normative în vigoare sau dispuse de conducerea Centrului. Articolul 19(1) Compartimentul cercetare în psihologie şi sociologie din cadrul Biroului cercetare şi dezvoltare are următoarele atribuţii specifice:a)elaborează şi actualizează cadrul metodologic, procedural şi de bune practici cu privire la activitatea de cercetare ştiinţifică în domeniile psihologiei şi sociologiei; b)planifică şi desfăşoară activităţi de cercetare ştiinţifică în domeniile de competenţă, cooperând la nivel central şi teritorial cu instituţiile/structurile ministerului şi colaborând pe probleme de interes comun, potrivit reglementărilor în vigoare, cu alte instituţii publice, centrale şi locale, precum şi cu persoane juridice şi fizice; c)acordă consultanţă, la cerere, specialiştilor sau grupurilor de lucru constituite în vederea realizării de cercetări în domeniile din competenţa Centrului; d)realizează şi/sau participă la elaborarea de politici publice, strategii, programe şi planuri de acţiune în domeniile din competenţa Centrului şi la nivelul ministerului, precum şi la implementarea, monitorizarea şi evaluarea impactului instituţional al acestora; e)elaborează şi monitorizează implementarea proiectelor finanţate din surse naţionale şi/sau internaţionale, independent sau în colaborare cu celelalte structuri ale Centrului; f)valorifică rezultatele cercetărilor realizate, prin propunerea unor măsuri/programe de formare profesională sau pregătire continuă a personalului ministerului; g)elaborează articole şi materiale de prezentare a problemelor de actualitate din domeniile de competenţă ale Centrului; h)îndeplineşte orice alte atribuţii din domeniul său de activitate, prevăzute de actele normative în vigoare sau dispuse de conducerea Centrului. (2) Compartimentul metodologii şi strategii de dezvoltare din cadrul Biroului cercetare şi dezvoltare are următoarele atribuţii specifice:a)coordonează procesul de identificare a direcţiilor de dezvoltare strategică în domeniul psihologiei la nivelul ministerului, precum şi demersurile de implementare, monitorizare şi evaluarea impactului acţiunilor/măsurilor derivate din acestea; b)monitorizează şi asigură controlul respectării cadrului metodologic şi normativ specific şi/sau incident activităţii de psihologie la nivelul ministerului şi propune măsuri pentru asigurarea conformării la acesta; c)monitorizează stadiul îndeplinirii măsurilor dispuse în urma activităţilor de control realizate de către Centru; d)coordonează elaborarea şi actualizarea cadrului metodologic şi procedural specific domeniilor de activitate din competenţa Centrului; e)în colaborare cu celelalte structuri ale Centrului, propune pentru aprobare instrumentele de specialitate ce urmează a fi utilizate la nivelul ministerului, în urma solicitărilor structurilor de specialitate; f)iniţiază şi realizează demersuri de dezvoltare a bazei de informare-documentare specifice, în scopul asigurării în regim permanent şi la un nivel ştiinţific corespunzător a necesarului de cunoştinţe utile în procesul de optimizare a activităţilor specifice; g)întocmeşte planul de relaţii internaţionale al Centrului, în baza propunerilor celorlalte structuri ale acestuia, şi analizează periodic stadiul realizării acestor activităţi. Secţiunea a 4-aAtribuţiile Biroului suport tehnic Articolul 20Biroul suport tehnic are următoarele atribuţii principale: a)asigură planificarea pentru efectuarea evaluărilor psihologice şi corectarea testelor psihologice administrate; b)întocmeşte periodic necesarul de materiale, tipizate, instrumente, metode şi tehnici de lucru specifice, pe baza propunerilor serviciilor/birourilor/compartimentelor din cadrul Centrului, şi întreprinde acţiuni şi măsuri de asigurare a acestora; c)asigură exploatarea corespunzătoare, întreţinerea şi funcţionarea în bune condiţii a sistemului informatic şi de comunicaţii al Centrului; d)ţine evidenţa şi gestionează bunurile şi obiectele de cazarmare ale Centrului; e)realizează demersuri privind asigurarea drepturilor de echipament pentru personalul Centrului; f)efectuează operaţiunile necesare acordării şi ridicării avansului în numerar, precum şi decontării cheltuielilor în cazul deplasării personalului Centrului în interes de serviciu; g)organizează şi ţine evidenţa tehnic-operativă a bunurilor materiale existente în cadrul Centrului, precum şi a dotărilor metodologice de specialitate; h)desfăşoară activităţi privind asigurarea unităţii cu rechizite de birou, produse de întreţinere şi alte materiale specifice; i)întocmeşte, atunci când este necesar, analize, situaţii şi centralizări privind activitatea din domeniul de competenţă al Centrului; j)îndeplineşte orice alte atribuţii din domeniul său de activitate, prevăzute de actele normative în vigoare sau dispuse de conducerea Centrului. Articolul 21 (1) Compartimentul analiză, planificare şi logistică din cadrul Biroului suport tehnic are următoarele atribuţii specifice:a)ţine evidenţa solicitărilor formulate în scris adresate Centrului pentru efectuarea evaluării psihologice; b)desfăşoară activităţile necesare planificării evaluărilor psihologice, în baza solicitărilor adresate Centrului şi conform dispoziţiilor conducerii unităţii; c)asigură corectarea testelor psihologice aplicate de specialiştii Centrului în exercitarea atribuţiilor profesionale, în conformitate cu procedurile aprobate; d)ţine evidenţa şi distribuie imprimatele tipizate şi confecţiile tipografice specifice utilizate în activităţile de psihologie şi sociologie; e)gestionează, conform competenţelor, suportul logistic asigurat de structurile stabilite prin ordin al ministrului afacerilor interne şi asigură relaţia cu structura financiară, în vederea desfăşurării în bune condiţii a activităţii Centrului; f)îndeplineşte orice alte atribuţii din domeniul său de activitate, prevăzute de actele normative în vigoare sau dispuse de conducerea Centrului. (2) Compartimentul comunicaţii şi tehnologia informaţiei din cadrul Biroului suport tehnic are următoarele atribuţii specifice:a)asigură exploatarea corespunzătoare, întreţinerea şi funcţionarea în bune condiţii a terminalelor şi echipamentelor reţelei de comunicaţii integrate voce-date-video (RCIVDV) a ministerului care deservesc Centrul; b)semnalează Direcţiei pentru comunicaţii şi tehnologia informaţiei şi Direcţiei administrare şi achiziţii pentru comunicaţii şi tehnologia informaţiei orice disfuncţionalitate a RCIVDV la nivelul Centrului; c)proiectează, elaborează, implementează şi dezvoltă, atunci când este necesar, soluţii informatice cu aplicare în domeniul testării psihologice computerizate, precum şi pentru automatizarea şi informatizarea altor activităţi specifice Centrului; d)asigură întreţinerea şi actualizarea aplicaţiilor informatice instalate pe staţii de lucru şi servere; e)asigură suportul tehnic specific pentru desfăşurarea activităţii de testare psihologică computerizată; f)asigură administrarea, optimizarea şi dezvoltarea bazelor de date în format electronic ce conţin informaţii rezultate în urma desfăşurării activităţilor specifice Centrului; g)tehnoredactează documentele cuprinzând rezultatele activităţii de evaluare psihologică şi întocmeşte adresele de înaintare în vederea expedierii acestora; h)pune la dispoziţia celorlalte structuri din cadrul Centrului datele şi informaţiile în format electronic pe care le gestionează, necesare pentru îndeplinirea atribuţiilor ce le revin; i)pune în aplicare măsurile de protecţie a informaţiilor clasificate şi a datelor cu caracter personal în format electronic prelucrate în cadrul sistemului informatic al Centrului, potrivit dispoziţiilor legale în vigoare; j)cooperează cu alte structuri ori colective specializate în domeniul tehnologia informaţiei şi comunicaţiilor din minister sau din afara acestuia; k)organizează şi desfăşoară activităţile necesare pentru înzestrarea unităţii cu mijloace de comunicaţii şi informatică, exploatarea şi repararea acestora, aprovizionarea cu materiale consumabile specifice, precum şi pentru scoaterea din înzestrare, conform normelor legale, a echipamentelor informatice şi de comunicaţii din dotarea Centrului; l)avizează din punct de vedere tehnic dotarea cu aplicaţii informatice, tehnică de calcul şi de comunicaţii care urmează să fie utilizate în activitatea de psihologie de către unităţile din structura ministerului; m)acordă, atunci când este necesar, sprijin şi îndrumare personalului celorlalte structuri din cadrul Centrului privind exploatarea aplicaţiilor informatice, a tehnicii de calcul şi de comunicaţii; n)îndeplineşte orice alte atribuţii din domeniul său de activitate, prevăzute de actele normative în vigoare sau dispuse de conducerea Centrului. Secţiunea a 5-aAtribuţiile Compartimentului juridic Articolul 22Compartimentul juridic are următoarele atribuţii: a)întocmeşte, împreună cu compartimentele de specialitate, şi prezintă conducerii Centrului propuneri de măsuri privind îndeplinirea sarcinilor care le revin acestora, în vederea aplicării stricte a legilor şi a altor acte normative, imediat după publicarea acestora; b)organizează, împreună cu compartimentele de specialitate, studierea temeinică a legilor şi altor acte normative, imediat după publicarea acestora, de către personalul care are atribuţii în aplicarea prevederilor legale, precum şi acţiuni de prevenire a încălcării normelor legale şi de înlăturare a deficienţelor constatate în activitatea Centrului; c)urmăreşte modul de aplicare a normelor juridice în activitatea Centrului şi face propuneri pentru perfecţionarea normelor juridice; d)întocmeşte observaţii şi propuneri motivate juridic la proiectele de legi, hotărâri şi ordonanţe ale Guvernului, acte normative cu caracter intern asupra cărora a fost consultat Centrul; e)întocmeşte avize motivate, la solicitarea directorului Centrului, cu privire la diferite categorii de lucrări cu caracter juridic, care privesc activitatea acestuia; f)întocmeşte şi ţine evidenţa legilor, decretelor, hotărârilor şi ordonanţelor Guvernului şi a actelor cu caracter intern care interesează activitatea Centrului, în măsura în care nu există aplicaţii informatice legislative; g)pregăteşte şi examinează, sub aspectul legalităţii şi eficienţei juridice, documentaţia care stă la baza dispoziţiilor directorului Centrului şi acordă asistenţă juridică acestuia; h)elaborează sau, după caz, avizează anteproiectele de acte normative promovate de Centru; i)avizează pentru legalitate proiectele de dispoziţii cu caracter intern sau cu caracter individual emise ori semnate de directorul Centrului, precum şi orice alte acte care pot angaja răspunderea patrimonială a acestuia; j)informează Direcţia generală juridică despre citarea Centrului, în calitatea sa de parte în cauzele aflate pe rolul instanţelor de judecată, la care ataşează înscrisurile necesare formulării apărărilor; k)asigură reprezentarea şi apărarea drepturilor şi intereselor legitime ale ministerului, în cadrul oricăror proceduri prevăzute de lege, în baza delegaţiilor emise de directorul Direcţiei generale juridice; l)sesizează conducerea Centrului cu privire la deficienţele rezultate din soluţionarea litigiilor de instanţele judecătoreşti, pentru luarea măsurilor adecvate, în scopul asigurării legalităţii şi a ordinii de drept; m)ia măsuri pentru obţinerea titlurilor executorii şi punerea în executare a acestora, potrivit legii, în vederea realizării creanţelor şi a altor drepturi patrimoniale ale Centrului; n)acordă asistenţă juridică consiliilor de disciplină, consiliilor de judecată, consiliilor de onoare şi comisiilor de disciplină, potrivit prevederilor actelor normative şi competenţei; o)avizează pentru legalitate proiectele de contracte, înţelegeri şi alte acte juridice care angajează răspunderea juridică a Centrului, în limita competenţelor; p)participă la negocieri şi avizează pentru legalitate proiectele de convenţii, acorduri şi înţelegeri internaţionale la care Centrul este parte, în limita competenţelor; q)coordonează elaborarea şi transmiterea, după aprobare, către solicitanţi a documentelor privind cazurile sau situaţiile reclamate organismelor internaţionale din domeniul drepturilor omului; r)elaborează puncte de vedere cu privire la respectarea drepturilor omului şi normelor dreptului umanitar în şi de către Centru, precum şi asupra implementării reglementărilor privind egalitatea de şanse între femei şi bărbaţi în cadrul acestuia; s)formulează proiectele răspunsurilor la petiţiile, cererile/solicitările persoanelor fizice şi juridice, organizaţiilor neguvernamentale interne şi internaţionale adresate Centrului; t)desfăşoară activităţi având ca scop determinarea corelării acţiunilor Centrului şi a dispoziţiilor conducerii acestuia cu legislaţia comunitară în materie; u)participă la instruirea personalului din Centru în problematica la care se referă actele juridice internaţionale, în probleme de drept umanitar şi drepturile omului, precum şi în probleme de cunoaştere şi aplicare unitară a legislaţiei, în raport cu specificul activităţii; v)elaborează puncte de vedere privitoare la interpretarea şi aplicarea unor dispoziţii legale şi acordă conducerii Centrului consultaţii cu caracter juridic, în îndeplinirea sarcinilor de serviciu; w)sprijină activitatea de perfecţionare a pregătirii profesionale a întregului personal al Centrului, iniţiază şi participă la acţiuni de cunoaştere, interpretare şi aplicare a actelor normative; x)analizează periodic activitatea proprie şi propune măsuri pentru îmbunătăţirea acesteia, informând conducerea Centrului despre rezultatul analizei şi propunerile formulate; y)îndeplineşte orice alte atribuţii din domeniul său de activitate, prevăzute de actele normative în vigoare sau dispuse de conducerea Centrului. Secţiunea a 6-aAtribuţiile Compartimentului secretariat, documente clasificate şi arhivă Articolul 23Compartimentul secretariat, documente clasificate şi arhivă are următoarele atribuţii principale: a)primeşte, înregistrează, triază şi prezintă directorului corespondenţa clasificată/neclasificată adresată Centrului, inclusiv cea electronică, pe care o repartizează spre rezolvare, potrivit rezoluţiei; b)ţine evidenţa lucrărilor înregistrate, conform prevederilor legale în vigoare; c)asigură clasarea, îndosarierea şi arhivarea lucrărilor primite şi soluţionate de structurile/personalul din cadrul Centrului, conform actelor normative incidente şi dispoziţiilor directorului; d)asigură expedierea corespondenţei clasificate/ neclasificate primite/trimise la/de către Centru; e)întocmeşte formularele de ridicare/decontare a sumelor de bani necesare expedierii corespondenţei prin poşta civilă; f)ţine evidenţa ordinelor, dispoziţiilor, regulamentelor, instrucţiunilor emise de conducerea ministerului, care sunt comunicate Centrului, a actelor normative emise de directorul Centrului şi a literaturii de specialitate, în format letric, şi asigură distribuirea acestora, în funcţie de solicitări; g)organizează şi desfăşoară activitatea de arhivă la nivelul Centrului, în conformitate cu reglementările legale în vigoare; h)întocmeşte inventarele arhivistice; i)elaborează propuneri privind procedura/normele interne privind circuitul documentelor; j)tehnoredactează lucrările primite din partea conducerii Centrului; k)ţine evidenţa sesizărilor, reclamaţiilor, cererilor, petiţiilor, precum şi a contestaţiilor cu privire la avizul psihologic de inaptitudine adresate Centrului; l)ţine evidenţa, inventariază şi răspunde de modul de utilizare a ştampilelor şi sigiliilor unităţii, în limita competenţelor proprii, şi întocmeşte necesarul de rechizite, consumabile, formulare tipizate, plicuri etc.; m)desfăşoară activităţile specifice cu prilejul retragerii actelor normative interne abrogate, a sigiliilor şi ştampilelor scoase din uz şi asigură distrugerea acestora în condiţiile prevăzute de reglementările în vigoare; n)ţine evidenţa prezenţei şi a răspândirilor personalului unităţii; o)redactează dispoziţia zilnică a directorului Centrului, pe care o prezintă pentru aprobare şi o aduce la cunoştinţa celor în drept; p)asigură, la cererea personalului unităţii, multiplicarea documentelor repartizate acestuia; q)întocmeşte documentaţia premergătoare acordării drepturilor financiare pentru personalul Centrului; r)întocmeşte şi actualizează agenda zilnică de activităţi preconizate pentru directorul Centrului, prin consultarea acestuia, pe intervale de timp şi subiecte, ţinând seama atât de evenimentele periodice, cât şi de cele cu caracter ocazional; s)întocmeşte şi prelucrează calendarul de evenimente cu caracter protocolar şi pregăteşte corespondenţa formală cu ocazia acestora; t)răspunde la felicitările şi invitaţiile adresate conducerii Centrului, confirmând participarea sau motivând neparticiparea la anumite evenimente; u)pregăteşte întâlnirile cu persoanele din interiorul/exteriorul ministerului; v)întocmeşte şi actualizează listele utile cuprinzând datele de contact ale personalului din cadrul Centrului, ale psihologilor din unităţile centrale şi teritoriale subordonaţi profesional Centrului, precum şi zilele aniversare şi onomastice ale personalului propriu şi din conducerea ministerului; w)ordonează mapa de corespondenţă şi o prezintă directorului în vederea semnării; x)preia şi direcţionează apelurile telefonice şi asigură transmiterea documentelor prin fax sau e-mail; y)consultă aplicaţia de management integrat al resurselor şi activităţilor Centrului şi informează directorul despre stadiul îndeplinirii de către structurile desemnate a sarcinilor dispuse prin rezoluţiile consemnate pe documente; z)organizează activitatea de audienţă a directorului Centrului şi primeşte petiţiile şi cererile depuse cu această ocazie;aa) asigură măsurile organizatorice necesare desfăşurării şedinţelor de lucru ale conducerii Centrului şi redactarea documentelor aferente; bb) asigură, la cererea directorului, convocarea specialiştilor aflaţi în coordonarea Centrului pe linie profesională a căror prezenţă este considerată necesară la întrunirile de lucru organizate de acesta şi consemnează problemele dezbătute şi măsurile stabilite cu aceste ocazii; cc) desfăşoară activităţi privind evidenţa documentelor de organizare-mobilizare, activităţi necesare planificării, numirii, pregătirii personalului din serviciul de permanenţă; dd) întocmeşte, atunci când este necesar, rapoarte, analize, situaţii, date statistice şi informări în legătură cu activitatea Centrului, din domeniul de competenţă, necesare directorului ori eşaloanelor superioare; ee) îndeplineşte orice alte atribuţii din domeniul său de activitate, prevăzute de actele normative în vigoare sau dispuse de conducerea Centrului. Capitolul VIDispoziţii finale Articolul 24Prevederile prezentului regulament se aduc la cunoştinţa întregului personal care este obligat să le cunoască şi să le aplice, în părţile ce îl privesc. Articolul 25Anexele nr. 1-3 fac parte integrantă din prezentul regulament.
ANEXA Nr. 1*)*) Anexa nr. 1 este reprodusă în facsimil.la regulament ORGANIGRAMA Centrului de Psihosociologie al Ministerului Afacerilor Interne
ANEXA Nr. 2*)*) Anexa nr. 2 este reprodusă în facsimil.la regulament DIAGRAMA principalelor relaţii ale Centrului de Psihosociologie al Ministerului Afacerilor Interne ANEXA Nr. 3la regulament FIŞA POSTULUI
|
A. Identificarea postului |
1. Compartimentul: conducerea Centrului de Psihosociologie al Ministerului Afacerilor Interne, denumit în continuare Centrul 2. Denumirea postului: director 3. Poziţia postului în statul de organizare: 1 4. Relaţii cu alte posturi: a)ierarhice: se subordonează nemijlocit secretarului general al Ministerului Afacerilor Interne, denumit în continuare minister; b)funcţionale: conduce întreaga activitate a Centrului, coordonează nemijlocit activitatea structurilor de profil şi a personalului de specialitate de la nivelul inspectoratelor generale, departamentelor, direcţiilor generale/direcţiilor (similare) şi al instituţiilor de învăţământ ale ministerului; în aplicarea prevederilor legale, a ordinelor/instrucţiunilor ministrului afacerilor interne şi a dispoziţiilor secretarului general, emise conform competenţelor, directorul emite dispoziţii pentru personalul din subordine, precum şi pentru reglementarea activităţii de psihologie din cadrul ministerului, formulează solicitări, îndrumări sau precizări pentru structurile/personalul cu atribuţii în domeniul activităţii de psihologie aflate în coordonarea Centrului pe linie de specialitate; c)de control: controlează activitatea structurilor Centrului şi a întregului personal al acestuia, precum şi, pe line de specialitate, a structurilor/persoanelor specializate în desfăşurarea activităţii de psihologie din unităţile centrale şi teritoriale ale ministerului; d)de colaborare: colaborează cu conducerile direcţiilor generale, departamentelor, direcţiilor (similare) din cadrul ministerului, inspectoratelor generale, cu structurile similare din celelalte instituţii publice ori organizaţii neguvernamentale, legal constituite, în scopul rezolvării atribuţiilor din domeniul de competenţă al Centrului, potrivit prevederilor legale şi ordinelor ministrului afacerilor interne; e)de reprezentare: reprezintă Centrul în raporturile cu conducerea ministerului sau structurile acestuia, cu celelalte autorităţi sau instituţii publice din ţară şi din străinătate; angajează, în condiţiile legii, Centrul în raporturile cu persoanele juridice şi fizice, scop în care poate da împuterniciri de reprezentare personalului din subordine.5. Definirea sumară a atribuţiilor postului: asigură planificarea, organizarea, conducerea, coordonarea şi controlul activităţilor structurilor şi personalului din cadrul Centrului; asigură exercitarea de către Centru a autorităţii de reglementare, îndrumare, coordonare şi control în domeniul activităţii de psihologie în minister, cu care este învestit în conformitate cu prevederile legale în vigoare; desfăşoară nemijlocit activităţi de psihologie.
1. Categoria de personal ce poate ocupa postul: ofiţer de poliţie 2. Gradul profesional necesar ocupantului postului: cel puţin subcomisar de poliţie 3. Pregătirea necesară ocupantului postului: 3.1. pregătire de bază: învăţământ superior de lungă durată cu diplomă de licenţă sau studii universitare de licenţă cu diplomă de licenţă în specializarea psihologie; 3.2. pregătire de specialitate: studii de masterat/postuniversitare sau studii universitare de master în unul dintre domeniile psihologie, sociologie ori management; 3.3. alte cunoştinţe: în domeniile management, informatică, juridic, pedagogie; 3.4. autorizaţii speciale pentru exercitarea atribuţiilor postului: atestat de liberă practică în specialitatea „psihologie aplicată în domeniul securităţii naţionale“, emis de Colegiul Psihologilor din România, treapta de specializare psiholog specialist sau psiholog principal; autorizaţie de acces la informaţii clasificate: informaţii secrete de stat, nivelul de secretizare „strict secret“; 3.5. limbi străine: cel puţin o limbă străină de circulaţie internaţională la nivel bun pentru citit, scris şi vorbit. 4. Experienţă: 4.1. vechime în muncă/din care în minister: 7 ani/7 ani; 4.2. vechime în specialitate: 7 ani vechime în specialitatea studiilor necesare exercitării funcţiei; 4.3. vechime în funcţii de conducere: cel puţin 4 ani vechime în funcţii de conducere în cadrul ministerului; 4.4. perioada pentru acomodare la cerinţele postului: 6 luni. 5. Aptitudini şi abilităţi necesare: manageriale (organizatorice, decizionale, de planificare, conducere, coordonare şi control), capacitate de lucru sub presiunea timpului, spirit de observaţie, capacitate de lucru în echipă, putere de mobilizare, diplomaţie, spontaneitate, mijlocitor al informării şi pregătirii profesionale, receptivitate la nou. 6. Atitudini necesare/comportament: spirit de iniţiativă, comportament adecvat (limbaj, vestimentaţie, reguli de politeţe), obiectivitate, spirit critic şi autocritic, fermitate, demnitate, încredere în forţele proprii, sociabilitate, devotament şi loialitate faţă de instituţie, fermitate, motivaţie intrinsecă, integritate morală, capacitate de asumare a răspunderii, consecvenţă în acţiune, disponibilitate la schimbare. 7. Parametri privind starea sănătăţii somatice: apt pentru funcţii de conducere. 8. Trăsături psihice şi de personalitate: apt psihologic pentru funcţii de conducere.
|
C. Condiţii specifice de muncă |
1. Locul de muncă: sediul Centrului 2. Programul de lucru: conform programului de lucru aprobat pentru personalul ministerului 3. Deplasări curente: în structurile ministerului, la autorităţi şi instituţii similare din ţară şi din străinătate, cu care colaborează în domeniul propriu de activitate; participarea la schimburi de experienţă, manifestări cu caracter ştiinţific/profesional organizate în ţară şi în străinătate; în unităţi centrale şi teritoriale ale ministerului, pentru realizarea unor acţiuni de îndrumare, coordonare şi control al structurilor/personalului cu atribuţii în domeniul activităţii de psihologie aflate în coordonarea Centrului pe linie de specialitate 4. Condiţii deosebite de muncă: expunere la radiaţii electromagnetice 5. Compensări: sporuri, indemnizaţie de conducere.
|
D. Descrierea sarcinilor, îndatoririlor şi responsabilităţilor postului |
1. Sarcini şi îndatoriri: a)organizează şi conduce întreaga activitate a Centrului pentru îndeplinirea întocmai a atribuţiilor ce revin unităţii, conform prevederilor legale în vigoare; b)coordonează elaborarea concepţiei de organizare şi desfăşurare a activităţii de psihologie în minister; controlează modul de implementare şi aplicare a acesteia; c)convoacă, ori de câte ori este nevoie, specialişti aflaţi în coordonarea Centrului pe linie profesională, în vederea stabilirii unor strategii, acţiuni şi sarcini comune, precum şi pentru analiza activităţii desfăşurate, executarea unor ordine/dispoziţii ale conducerii ministerului pe linia activităţii de psihologie şi aplicarea unitară a dispoziţiilor legale în domeniu; d)desfăşoară nemijlocit activităţi de psihologie, în conformitate cu tipul de atestat de liberă practică deţinut; e)coordonează activitatea de pregătire continuă a personalului Centrului; desfăşoară nemijlocit activităţi de pregătire cu personalul din subordine şi de verificare a modului în care cunoştinţele transmise sunt însuşite şi aplicate în activitate; f)rezoluţionează şi repartizează pentru soluţionare, în termenul legal, corespondenţa şi celelalte lucrări structurilor din subordine; g)semnează corespondenţa Centrului cu unităţile ministerului, cu instituţii sau organisme din afara ministerului, persoane juridice sau fizice, potrivit competenţelor; h)dispune măsuri, potrivit competenţelor, pentru încadrarea posturilor din statul de organizare al Centrului cu personal corespunzător cerinţelor acestora; i)coordonează activităţile de îndrumare, sprijin şi control desfăşurate de specialiştii Centrului în unităţile centrale şi teritoriale în legătură cu organizarea şi desfăşurarea activităţii de psihologie în minister; j)aprobă aprecierile de serviciu anuale/parţiale ale personalului Centrului şi întocmeşte fişele de evaluare anuală/parţială a activităţii profesionale desfăşurate de şefii de sector, şefii de birou şi coordonatorii compartimentelor independente din cadrul Centrului; k)participă la manifestări cu caracter ştiinţific şi profesional organizate în domeniul de activitate al Centrului; l)organizează şi desfăşoară audienţele, asigură rezolvarea petiţiilor cetăţenilor, potrivit competenţelor; m)analizează, periodic şi ori de câte ori este nevoie, împreună cu şefii/coordonatorii structurilor din subordine, stadiul rezolvării problemelor de muncă şi stabileşte măsuri de eficientizare a întregii activităţi; n)formulează solicitări, îndrumări sau precizări pentru structurile/personalul cu atribuţii în domeniul activităţii de psihologie aflate în coordonarea Centrului pe linie de specialitate; o)numeşte grupuri de lucru sau comisii pe problematici, programe ori proiecte, în compunerea cărora se regăseşte personal de specialitate aflat în coordonarea Centrului pe linie profesională; p)numeşte subcomisiile de specialitate în cadrul comisiilor de concurs/examen pentru ocuparea posturilor vacante de ofiţer-psiholog, precum comisiile de soluţionare a contestaţiilor cu privire la avizul de inaptitudine, în condiţiile prevăzute de reglementările în vigoare; q)coordonează organizarea şi executarea serviciului de permanenţă la nivelul Centrului; r)coordonează întocmirea planului anual cu principalele activităţi ale Centrului, pe care îl supune aprobării conducerii ministerului; s)informează periodic conducerea ministerului asupra principalelor concluzii rezultate din activitatea Centrului şi face propuneri pentru eficientizarea activităţilor specifice unităţii; t)coordonează desfăşurarea activităţilor internaţionale ale Centrului; u)reprezintă Centrul în relaţiile cu celelalte unităţi ale ministerului, cu structurile de profil din cadrul instituţiilor şi organismelor din afara ministerului, precum şi cu persoane juridice şi fizice, potrivit competenţelor; v)organizează şi coordonează aplicarea în cadrul Centrului a standardelor naţionale de protecţie a informaţiilor clasificate; w)asigură aplicarea măsurilor de protecţie a datelor cu caracter personal în cadrul Centrului; x)organizează activităţile de securitate şi sănătate în muncă, precum şi de apărare împotriva incendiilor la nivelul Centrului.
|
E. Standarde de performanţă asociate postului |
1. Indicatori cantitativi: asigurarea îndeplinirii tuturor atribuţiilor, sarcinilor şi responsabilităţilor care revin Centrului şi postului pe care îl ocupă. 2. Indicatori calitativi: asigurarea managementului performant al activităţii Centrului şi gestionarea judicioasă a resurselor umane şi materiale alocate, în conformitate cu prevederile legale, cerinţele postului, ordinelor şi dispoziţiilor conducerii ministerului. 3. Costuri: asigură planificarea, organizarea şi desfăşurarea activităţilor specifice, cu respectarea şi încadrarea strictă în limitele resurselor materiale şi financiare aprobate în acest scop. 4. Timp: îndeplineşte atribuţiile ce îi revin în timpul programului de lucru sau, după caz, când situaţia o impune, în afara acestuia. 5. Utilizarea resurselor: antrenează personalul în activităţi de concepţie, analiză şi sinteză, precum şi în luarea deciziilor; dezvoltă spiritul inovativ al subordonaţilor; stimulează la personalul din subordine loialitatea faţă de instituţie şi integritatea morală în toate acţiunile pe care acesta le întreprinde; acţionează pentru utilizarea cu maximă eficienţă a timpului de lucru, a dotărilor şi celorlalte resurse materiale. 6. Modalităţi de realizare a atribuţiilor: individual şi în echipă; conduce prin dispoziţii şi exemplul personal; îndrumă, dezvoltă şi antrenează personalul din subordine pentru executarea de lucrări complexe; stimulează competenţa, eficacitatea şi loialitatea faţă de instituţie a subordonaţilor; deleagă din atribuţii personalului cu funcţii de conducere aflat în subordine. SECRETARUL GENERAL AL MINISTERULUI AFACERILOR INTERNE Semnătura ........ ........... Data........ ........ ............. TITULARUL POSTULUI ........ ........ .............. Semnătura ........ ................ ............. Data ........ ................ ........ ...............