ORDIN Nr. 225
din 8 octombrie 2010
privind aprobarea
Regulamentului de organizare si functionare a Directiei generale pentru
relatiile cu institutiile prefectului
ACT EMIS DE:
MINISTERUL ADMINISTRATIEI SI INTERNELOR
ACT PUBLICAT IN:
MONITORUL OFICIAL NR. 693 din 15 octombrie 2010
Având în vedere Hotărârea Guvernului nr. 416/2007
privind structura organizatorică si efectivele Ministerului Administraţiei si Internelor, cu modificările si completările ulterioare,
în temeiul art. 7 alin. (4) din Ordonanţa de urgenţă a
Guvernului nr. 30/2007 privind organizarea si funcţionarea Ministerului Administraţiei si Internelor, aprobată cu modificări prin Legea nr. 15/2008, cu
modificările si completările
ulterioare,
ministrul administraţiei si internelor emite următorul ordin:
Art. 1. - Se aprobă Regulamentul de organizare si funcţionare a Direcţiei generale pentru
relaţiile cu instituţiile prefectului, prevăzut în anexa care face parte
integrantă din prezentul ordin.
Art. 2. - Prezentul ordin se publică în Monitorul
Oficial al României, Partea I.
Ministrul administraţiei si
internelor,
Constantin-Traian Igas
ANEXĂ
REGULAMENT
de organizare si
funcţionare a Direcţiei generale pentru relaţiile cu instituţiile prefectului
CAPITOLUL I
Dispoziţii generale
Art. 1. - (1) Direcţia
generală pentru relaţiile cu instituţiile prefectului, denumită în continuare direcţia
generală, este structura de specialitate a aparatului central al
Ministerului Administraţiei si Internelor, denumit în
continuare ministerul, fără personalitate
juridică, având competenţă în domeniul monitorizării, îndrumării metodologice si controlului ierarhic de
specialitate asupra activităţii prefecţilor, subprefecţilor si a personalului din cadrul instituţiilor
prefectului.
(2) Direcţia generală asigură în activitatea sa
aplicarea legilor, a ordonanţelor si hotărârilor Guvernului, a ordinelor si instrucţiunilor emise de ministrul administraţiei si internelor, precum si a dispoziţiilor
secretarului de stat care coordonează direcţia generală, în domeniul său de
competenţă.
Art. 2. - Direcţia generală este subordonată
ministrului administraţiei si internelor si secretarului de stat desemnat să coordoneze activitatea direcţiei
generale.
CAPITOLUL II
Organizarea direcţiei generale
Art. 3. - (1) Statul de organizare al direcţiei
generale se aprobă prin ordin al ministrului administraţiei si internelor.
(2) Direcţia generală are
următoarea structură organizatorică:
a) conducerea;
b) Serviciul monitorizarea situaţiilor de urgenţă;
c) Serviciul monitorizarea
activităţii instituţiilor prefectului în relaţia cu serviciile publice deconcentrate;
d) Unitatea de management al
Proiectului de diminuare a riscului în cazul producerii calamităţilor naturale si pregătire pentru situaţii de urgenţă;
e) Compartimentul monitorizarea
activităţii de verificare a legalităţii actelor;
f) Compartimentul analize, sinteze si elaborare acte
administrative;
g) Compartimentul coordonarea
activităţii instituţiilor prefectului în domeniul electoral;
h) Compartimentul evidenţa situaţiei privind
restituirea proprietăţilor.
(3) Structura organizatorică a
direcţiei generale este prevăzută în anexa nr. 1.
Art. 4. - Intre structurile de specialitate ale
direcţiei generale, prevăzute la art. 3 alin. (2) lit. b)-h), se stabilesc
relaţii de cooperare, în vederea îndeplinirii atribuţiilor.
Art. 5. - (1) Personalul direcţiei
generale este format din funcţionari publici, funcţionari publici cu statut
special si personal
contractual, repartizaţi pe domenii de activitate.
(2) Intregul personal al direcţiei generale este
subordonat direct directorului general si răspunde în faţa acestuia pentru executarea sarcinilor de
serviciu încredinţate potrivit fiselor posturilor.
(3) Unitatea de management al
Proiectului de diminuare a riscului în cazul producerii calamităţilor naturale si pregătire pentru situaţii de urgenţă
funcţionează sub directa coordonare a secretarului de stat desemnat să
coordoneze activitatea direcţiei generale.
Art. 6. - (1) Direcţia generală cooperează cu alte
structuri din cadrul aparatului central al ministerului si cu structuri aflate în subordinea sau în coordonarea ministerului, desfăsoară relaţii de cooperare pentru îndeplinirea atribuţiilor cu alte
autorităţi publice, instituţii si organizaţii si
are relaţii de coordonare în domeniul de specialitate si de control cu instituţiile prefectului.
(2) Diagrama de relaţii a
direcţiei generale este prevăzută în anexa nr. 2.
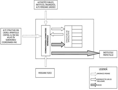
Art. 7. - (1) Sistemul informaţional-decizional derulat
în cadrul direcţiei generale este prevăzut în anexa nr. 3.
(2) Legătura dintre componenta
decizională si cea
informaţională a sistemului prevăzut la alin. (1) se prezintă astfel:
a) la intrare, componenta
informaţională furnizează componentei decizionale informaţia pe care aceasta
din urmă o transmite spre prelucrare structurilor de specialitate;
b) la iesire, componenta
informaţională dirijează deciziile luate în cadrul componentei decizionale
pentru a fi executate si
aplicate de către structurile de specialitate ale direcţiei generale, respectiv
structurile coordonate;
c) componenta informaţională
necesită un circuit intern de informaţii.
(3) Componenta informaţională si cea decizională sunt cuplate,
variabilele de intrare ale uneia fiind variabilele de iesire ale celeilalte.
CAPITOLUL III
Atribuţiile direcţiei generale
Art. 8. - Principalele obiective ale direcţiei generale
sunt:
a) crearea cadrului de
referinţă corespunzător aplicării legislaţiei specifice într-un mod coerent si unitar la nivelul instituţiilor
prefectului;
b) perfecţionarea
managementului în cadrul instituţiilor prefectului în ceea ce priveste gestionarea problematicilor din diferite sectoare de activitate;
c) cresterea calităţii si eficienţei serviciilor publice prestate
de instituţiile prefectului.
Art. 9. - Direcţia generală are următoarele atribuţii
principale:
a) coordonarea în domeniul de specialitate, monitorizarea, îndrumarea metodologică si controlul ierarhic de specialitate al activităţii prefecţilor, subprefecţilor
si a personalului din cadrul
instituţiilor prefectului cu privire la exercitarea atribuţiilor stabilite prin
acte normative si realizarea sarcinilor încredinţate de către Guvern ori date de conducerea
ministerului;
b) monitorizarea evoluţiei situaţiilor
de urgenţă, a măsurilor întreprinse de către prefecţi si de autorităţile administraţiei publice locale, în vederea
informării conducerii ministerului;
c) monitorizarea îndeplinirii
de către prefecţi a atribuţiilor constituţionale privind conducerea serviciilor
publice deconcentrate;
d) realizarea responsabilităţilor pentru implementarea
părţii A din cadrul Proiectului de diminuare a riscurilor în cazul producerii
calamităţilor naturale si
pregătire pentru situaţii de urgenţă, denumit în continuare Proiect;
e) monitorizarea îndeplinirii
de către prefecţi a atribuţiilor constituţionale referitoare la verificarea
legalităţii actelor administrative ale autorităţilor administraţiei publice
locale;
f) realizarea, din însărcinarea
conducerii ministerului, a controlului ierarhic de specialitate asupra
activităţii prefecţilor, subprefecţilor si a instituţiilor prefectului, cu privire la exercitarea
atribuţiilor prevăzute de acte normative, a sarcinilor încredinţate de către
Guvern ori date de conducerea ministerului;
g) întocmirea, din însărcinarea conducerii
ministerului, de informări, sinteze, note, analize si rapoarte, pe diverse teme din domeniul de competenţă, pe baza
datelor transmise de către prefecţi;
h) coordonarea activităţii instituţiilor prefectului în
vederea aplicării într-un mod coerent si unitar a legislaţiei specifice din domeniul electoral;
i) realizarea, la solicitarea conducerii ministerului, de analize privind problematica rezultată din sesizările cu privire
la procesul de restituire a proprietăţilor, pe baza datelor transmise de către
prefecţi;
j) participarea la întocmirea proiectelor de răspuns la
interpelările si întrebările
adresate primului-ministru si
ministrului administraţiei si
internelor de către membrii Parlamentului României, în domeniul său de
competenţă;
k) participarea la elaborarea proiectelor de legi,
ordonanţe si hotărâri ale
Guvernului, precum si alte acte normative care privesc activitatea ministerului în domeniul administraţiei publice;
l) participarea la organizarea,
în baza dispoziţiilor primite, de întâlniri de lucru între primul-ministru si alţi reprezentanţi ai Guvernului,
conducerea ministerului, pe de o parte, si prefecţi, subprefecţi, reprezentanţi ai serviciilor publice
deconcentrate si ai
autorităţilor administraţiei publice locale, pe de altă parte.
CAPITOLUL IV
Conducerea direcţiei generale
Art. 10. - (1) Conducerea direcţiei generale este
exercitată de către directorul general si directorul
general adjunct.
(2) Pentru reglementarea
activităţii direcţiei generale, directorul general poate emite dispoziţii în
temeiul ordinelor, instrucţiunilor si dispoziţiilor conducerii ministerului.
(3) Fisa postului directorului
general este prevăzută în anexa nr. 4, iar fisa postului directorului general adjunct este prevăzută în anexa nr.
5.
Art. 11. - (1) Directorul general conduce întreaga
activitate a direcţiei generale si o reprezintă în relaţiile cu celelalte structuri ale
ministerului, cu instituţii si
autorităţi din administraţia publică centrală si locală, cu alte instituţii publice, precum si cu organizaţii ale societăţii civile.
(2) Directorul general răspunde de întreaga activitate
pe care o desfăsoară direcţia
generală în faţa conducerii ministerului.
(3) In condiţiile legii, directorul general poate delega
atribuţii din competenţa sa directorului general adjunct sau altor persoane din
subordine, după caz.
CAPITOLUL V
Atribuţiile structurilor de specialitate din cadrul direcţiei generale
SECŢIUNEA 1
Atribuţiile Serviciului monitorizarea situaţiilor
de urgenţă
Art. 12. - Principalul obiectiv al Serviciului
monitorizarea situaţiilor de urgenţă este asigurarea managementului informaţiei
între toate structurile implicate în prevenirea si gestionarea situaţiilor de urgenţă, prin intermediul
instituţiilor prefectului.
Art. 13. - Serviciul monitorizarea situaţiilor de
urgenţă are următoarele atribuţii principale:
a) întocmirea de informări, sinteze, note si rapoarte privind evoluţia situaţiilor de
urgenţă, măsurile întreprinse de către prefecţi si de autorităţile administraţiei publice locale, precum si cu privire la pagubele produse ca urmare
a fenomenelor naturale periculoase, în vederea informării conducerii direcţiei
generale;
b) elaborarea proiectelor de
hotărâri ale Guvernului privind alocarea de sume din fondurile de rezervă
pentru înlăturarea efectelor unor calamităţi naturale, în baza propunerilor
prefecţilor si ale consiliilor
judeţene;
c) elaborarea, împreună cu
Administraţia Naţională a Rezervelor de Stat si Probleme Speciale, a proiectelor de hotărâri ale Guvernului
privind acordarea unor ajutoare umanitare populaţiei afectate de dezastre;
d) centralizarea, pe judeţe,
atât a sumelor alocate din fondurile de rezervă, cât si a ajutoarelor umanitare puse la dispoziţia populaţiei afectate de
dezastre;
e) organizarea, în cadrul direcţiei generale, a
serviciului de monitorizare permanentă a eventualelor situaţii de urgenţă ce ar
putea apărea la nivelul unităţilor administrativ-teritoriale.
SECŢIUNEA a 2-a
Atribuţiile Serviciului monitorizarea activităţii instituţiilor prefectului
în relaţia cu serviciile publice
deconcentrate
Art. 14. - Principalul obiectiv al Serviciului
monitorizarea activităţii instituţiilor prefectului în relaţia cu serviciile
publice deconcentrate este perfecţionarea managementului în cadrul
instituţiilor prefectului în ceea ce priveste
gestionarea problematicilor în domeniul serviciilor publice deconcentrate.
Art. 15. - Serviciul monitorizarea activităţii instituţiilor prefectului în relaţia cu serviciile publice
deconcentrate are următoarele atribuţii principale:
a) monitorizarea si îndrumarea
metodologică a activităţii structurilor de specialitate în domeniul serviciilor
publice deconcentrate, din cadrul instituţiilor prefectului;
b) monitorizarea activităţii colegiilor prefecturale si întocmirea de informări, sinteze,
rapoarte, situaţii si note privind activitatea
serviciilor publice deconcentrate, pe domenii de activitate, la solicitarea
conducerii direcţiei generale;
c) întocmirea corespondenţei
referitoare la problemele esenţiale ce se desprind din sedinţele colegiilor prefecturale a căror soluţionare este în
competenţa ministerelor si a
celorlalte organe ale administraţiei publice centrale;
d) analizarea rapoartelor
privind stadiul realizării planurilor de acţiune ale serviciilor publice
deconcentrate si întocmirea de sinteze privind
principalele domenii de activitate analizate în cadrul colegiilor prefecturale.
SECŢIUNEA a 3-a
Atribuţiile Unităţii de management al Proiectului
Art. 16. - Principalul obiectiv al Unităţii de management
al Proiectului este consolidarea capacităţii de finanţare si management în situaţii de urgenţă a
populaţiei si elaborarea unui program de asigurare la
catastrofe, prin realizarea unui sistem de management
informaţional pentru situaţii de urgenţă, elaborarea unui scenariu seismic
pentru Vrancea si elaborarea unui program de
constientizare.
Art. 17. - Unitatea de management al Proiectului are
următoarele atribuţii principale:
a) realizarea implementării activităţilor stabilite
pentru partea A a Proiectului, conform planului de implementare si documentului de evaluare a Proiectului;
b) realizarea managementului financiar-contabil al
Proiectului;
c) realizarea si îndeplinirea
atribuţiilor ce revin ministerului pe linia raportării, monitorizării si evaluării progresului Proiectului si a celor referitoare la monitorizarea
financiară, în termenii agreaţi cu instituţia finanţatoare;
d) realizarea obligaţiilor asumate de minister prin
acordul de împrumut subsidiar încheiat cu Ministerul Finanţelor Publice pentru
realizarea părţii A a Proiectului;
e) asigurarea derulării
procedurilor de achiziţie de bunuri, servicii si servicii de consultanţă, în conformitate cu prevederile
reglementărilor si ghidurilor
pentru serviciile de consultanţă ale BIRD si în conformitate cu Planul de achiziţii al Proiectului;
f) înfiinţarea si organizarea, din dispoziţia secretarilor de stat responsabili, a
comisiilor de evaluare a ofertelor primite în cadrul procedurilor de achiziţie
derulate;
g) elaborarea proiectelor
contractelor, încheierea acestora cu ofertanţii declaraţi câstigători, asigurarea derulării si implementării contractelor încheiate,
prin coordonarea în mod direct a activităţii consultanţilor sau furnizorilor;
h) asigurarea coordonării grupurilor de lucru formate
din specialistii desemnaţi de
instituţiile implicate în Proiect;
i) asigurarea secretariatelor grupurilor de lucru
formate din specialistii desemnaţi de instituţiile
implicate în Proiect, precum si
a secretariatului Comitetului Naţional de Asigurare la Dezastre si Comitetului de coordonare a
implementării Sistemului de management informaţional pentru situaţii de
urgenţă.
SECŢIUNEA a 4-a
Atribuţiile Compartimentului monitorizarea
activităţii de verificare a legalităţii actelor
Art. 18. - Principalul obiectiv al Compartimentului
monitorizarea activităţii de verificare a legalităţii actelor este asigurarea
unui cadru unitar si coerent
cu privire la aplicarea de către instituţiile prefectului a legislaţiei privind
verificarea legalităţii actelor administrative ale autorităţilor administraţiei
publice locale.
Art. 19. - Compartimentul monitorizarea activităţii de
verificare a legalităţii actelor are următoarele atribuţii principale:
a) monitorizarea modului de organizare si desfăsurare în
cadrul instituţiilor prefectului a activităţii de verificare a actelor
administrative ale autorităţilor administraţiei publice locale;
b) realizarea, din însărcinarea conducerii direcţiei
generale, a controlului ierarhic de specialitate asupra activităţii
prefecţilor, subprefecţilor si
a instituţiilor prefectului, cu privire la exercitarea atribuţiilor prevăzute
de lege, a sarcinilor încredinţate de către Guvern ori date de conducerea
ministerului;
c) verificarea ordinelor cu
caracter normativ emise de către prefecţi, precum si a proiectelor de acte normative iniţiate de către prefecţi si consiliile judeţene, respectiv Consiliul
General al Municipiului Bucuresti, cu formularea de
propuneri conform prevederilor legale;
d) verificarea documentaţiei
transmise de către prefecţi si
elaborarea proiectului de aviz al ministerului pentru înfiinţarea/desfiinţarea
de oficii prefecturale;
e) asigurarea datelor necesare
publicării, pe paginile de internet si intranet ale ministerului, a informaţiilor de interes public referitoare la
unele activităţi ale direcţiei generale.
Art. 20. -In situaţia în care, în urma controalelor
ierarhice de specialitate efectuate, se constată aspecte care necesită
verificări suplimentare, Compartimentul monitorizarea activităţii de verificare
a legalităţii actelor înaintează conducerii direcţiei generale propuneri în
acest sens.
SECŢIUNEA a 5-a
Atribuţiile Compartimentului analize, sinteze si elaborare acte administrative
Art. 21. - Principalul obiectiv al Compartimentului
analize, sinteze si elaborare acte administrative este
asigurarea managementului informaţiei în ceea ce priveste
gestionarea problematicilor din diferite sectoare de activitate.
Art. 22. - Compartimentul analize, sinteze si elaborare acte administrative are următoarele atribuţii
principale:
a) întocmirea, la solicitarea conducerii direcţiei
generale, de informări, sinteze, note, analize si rapoarte, în baza datelor transmise de către prefecţi, pe diverse
teme din domeniul de competenţă al direcţiei generale;
b) participarea la organizarea de întâlniri de lucru
între primul-ministru al Guvernului României si alţi
reprezentanţi ai Guvernului, conducerea ministerului, pe de o parte, si prefecţi, subprefecţi, reprezentanţi ai
serviciilor publice deconcentrate si ai autorităţilor administraţiei publice locale, pe de altă parte;
c) participarea la elaborarea
de materiale pentru videoconferinţele cu prefecţii si urmărirea modului de aplicare a dispoziţiilor date în cursul
acestora;
d) redactarea de propuneri de proiecte în scopul obţinerii
de finanţare în vederea cresterii
performanţei activităţilor desfăsurate în direcţia generală si în instituţiile prefectului;
e) pregătirea si elaborarea proiectelor de hotărâre a
Guvernului pentru numirea, respectiv eliberarea în/din funcţie a prefecţilor si a subprefecţilor, precum si a actelor administrative de modificare a raporturilor de serviciu
ale acestora.
SECŢIUNEA a 6-a
Atribuţiile Compartimentului coordonarea
activităţii instituţiilor prefectului în domeniul electoral
Art. 23. - Principalul obiectiv al Compartimentului
pentru coordonarea activităţii instituţiilor
prefectului în domeniul electoral este crearea
cadrului de referinţă corespunzător aplicării legislaţiei specifice într-un mod
coerent si unitar la nivelul
instituţiilor prefectului, în ceea ce priveste
organizarea si desfăsurarea alegerilor locale, parlamentare, prezidenţiale si pentru Parlamentul European, precum si a referendumului naţional.
Art. 24. - Compartimentul coordonarea activităţii
instituţiilor prefectului în domeniul electoral are următoarele atribuţii
principale:
a) coordonarea activităţii
instituţiilor prefectului în ceea ce priveste
gestionarea problematicilor cu privire la organizarea si desfăsurarea
alegerilor locale, parlamentare, prezidenţiale si
pentru Parlamentul European, precum si a
referendumului naţional;
b) sprijinirea instituţiilor prefectului în aplicarea
într-un mod coerent si unitar
a legislaţiei specifice din domeniul electoral;
c) participarea la elaborarea
proiectelor de acte normative necesare asigurării unui cadru unitar în ceea ce
priveste organizarea si desfăsurarea alegerilor locale, parlamentare,
prezidenţiale si pentru Parlamentul European, precum si a referendumului naţional;
d) asigurarea evidenţei unităţilor
administrativ-teritoriale unde este necesară organizarea de alegeri parţiale si elaborarea proiectelor de hotărâre a
Guvernului privind stabilirea datei alegerilor parţiale, pe baza propunerilor
prefecţilor;
e) elaborarea, împreună cu
Autoritatea Electorală Permanentă, a proiectelor de hotărâre a Guvernului
pentru aprobarea programelor calendaristice privind realizarea acţiunilor
referitoare la organizarea si
desfăsurarea alegerilor
parţiale locale si parlamentare.
SECŢIUNEA a 7-a
Atribuţiile Compartimentului evidenţa situaţiei
privind restituirea proprietăţilor
Art. 25. - Principalul obiectiv al Compartimentului
evidenţa situaţiei privind restituirea proprietăţilor este asigurarea cadrului
necesar cu privire la centralizarea datelor referitoare la stadiul restituirii proprietăţilor.
Art. 26. - Compartimentul evidenţa situaţiei privind
restituirea proprietăţilor are următoarele atribuţii principale:
a) monitorizarea si îndrumarea metodologică a activităţii structurilor de specialitate în domeniul
restituirii proprietăţilor din cadrul instituţiilor prefectului;
b) analizarea rapoartelor
privind stadiul procesului de restituire a proprietăţilor;
c) analizarea, la solicitarea conducerii direcţiei generale, a problematicii rezultate din sesizările cu
privire la procesul de restituire a proprietăţilor;
d) realizarea, la solicitarea conducerii ministerului,
de sinteze si informări cu privire la stadiul
procesului de restituire a proprietăţilor, pe baza datelor transmise de către
prefecţi.
CAPITOLUL VI
Dispoziţii finale
Art. 27. -Anexele nr. 1-5 fac parte integrantă din
prezentul regulament.
ANEXA Nr. 1*)
la regulament
STRUCTURA ORGANIZATORICĂ
a Direcţiei generale pentru relaţiile cu
instituţiile prefectului

*) Anexa nr. 1 este reprodusă în facsimil.
ANEXA Nr. 2*)
la regulament
DIAGRAMA DE RELAŢII
a Direcţiei generale pentru relaţiile cu
instituţiile prefectului

*) Anexa nr. 2 este reprodusă în facsimil.
ANEXA Nr. 3*)
la regulament
SISTEMUL INFORMAŢIONAL-DECIZIONAL
derulat în cadrul Direcţiei generale pentru
relaţiile cu instituţiile prefectului

*) Anexa nr. 3 este reprodusă în facsimil.
ANEXA Nr. 4
la regulament
MINISTERUL ADMINISTRAŢIEI Sl
INTERNELOR
DIRECŢIA GENERALA PENTRU RELAŢIILE CU INSTITUŢIILE
PREFECTULUI
Aprob
FISA POSTULUI Nr..............
Informaţii generale privind postul
1. Denumirea postului: director general
2. Nivelul postului: de conducere
3. Scopul principal al
postului: asigurarea monitorizării, îndrumării si a controlului ierarhic de specialitate asupra activităţii
prefecţilor, subprefecţilor si
a personalului din cadrul instituţiilor prefectului cu privire la exercitarea
atribuţiilor prevăzute de lege si realizarea sarcinilor încredinţate
Condiţii specifice
pentru ocuparea postului
1. Studii de specialitate: superioare
2. Perfecţionări (specializări): program de formare
specializată sau de perfecţionare în administraţia publică
3. Cunostinţe de
operare/programare pe calculator (necesitate si nivel):
operare pe calculator, nivel mediu
4. Limbi străine (necesitate si nivel de cunoastere): o limbă de
circulaţie internaţională, nivel mediu
5. Abilităţi, calităţi si aptitudini necesare: capacitate de organizare si coordonare, abilităţi în gestionarea resurselor umane, abilităţi
de comunicare
6. Cerinţe specifice:
disponibilitate pentru călătorii frecvente si delegări
7. Competenţa managerială (cunostinţe de management, calităţi si aptitudini manageriale): calităţi si aptitudini manageriale
Atribuţiile postului
1. Organizarea si conducerea
activităţii Direcţiei generale pentru relaţiile cu instituţiile prefectului
2. Organizarea si conducerea
activităţii de monitorizare, coordonare, îndrumare metodologică si control al activităţii prefecţilor,
subprefecţilor si personalului
din cadrul instituţiilor prefectului cu privire la realizarea atribuţiilor
prevăzute de lege, precum si a
sarcinilor încredinţate
3. Organizarea activităţii privind realizarea, din
însărcinarea conducerii Ministerului Administraţiei si Internelor, a controlului ierarhic de specialitate asupra
activităţii prefecţilor, subprefecţilor si a personalului instituţiilor prefectului, cu privire la
realizarea atribuţiilor prevăzute de actele normative, precum si a sarcinilor încredinţate
4. Coordonarea activităţii de
monitorizare a îndeplinirii de către prefecţi a atribuţiilor referitoare la
controlul legalităţii actelor administrative ale autorităţilor administraţiei
publice locale
5. Asigurarea întocmirii, la solicitarea conducerii
Ministerului Administraţiei si Internelor, de informări, sinteze, note, analize si rapoarte, pe diverse teme din domeniul
de competenţă al Direcţiei generale pentru relaţiile cu instituţiile
prefectului, pe baza datelor transmise de către prefecţi
6. Conducerea activităţii de
monitorizare a evoluţiei situaţiilor de urgenţă, a măsurilor dispuse de către
prefecţi, precum si de
întocmire de informări, sinteze, rapoarte si note cu
privire la pagubele produse ca urmare a fenomenelor naturale periculoase, în
vederea informării conducerii Ministerului
Administraţiei si Internelor
7. Conducerea activităţii de
întocmire a proiectelor de hotărâre a Guvernului privind alocarea de sume din
fondurile de rezervă pentru înlăturarea efectelor unor calamităţi naturale sau
referitoare la acordarea de ajutoare umanitare de primă urgenţă populaţiei
afectate de dezastre, în baza propunerilor prefecţilor si ale consiliilor judeţene
8. Conducerea activităţii de
monitorizare si îndrumare
metodologică a activităţii structurilor de specialitate în domeniul serviciilor
publice deconcentrate, din cadrul instituţiilor prefectului
9. Asigurarea activităţii de coordonare a operaţiunilor
desfăsurate de instituţiile
prefectului în cadrul proceselor electorale si cu ocazia referendumurilor naţionale
10. Asigurarea participării la
elaborarea proiectelor de acte normative necesare asigurării unui cadru unitar
în ceea ce priveste organizarea si desfăsurarea
alegerilor locale, parlamentare, prezidenţiale si
pentru Parlamentul European, precum si a referendumului
naţional
11. Organizarea activităţii de verificare a ordinelor
cu caracter normativ emise si
transmise de către prefecţi si
informarea conducerii Ministerului Administraţiei si Internelor în vederea formulării de propuneri privind anularea
acestora, dacă este cazul
12. Organizarea activităţii de verificare a proiectelor
de acte normative iniţiate de către prefecţi, de consiliile judeţene, respectiv
de Consiliul General al Municipiului Bucuresti, în vederea formulării de propuneri conform prevederilor legale
13. Conducerea activităţii de
pregătire si elaborare a
proiectelor de hotărâre a Guvernului pentru numirea/eliberarea în/din funcţie a
prefecţilor si subprefecţilor,
precum si a actelor administrative de modificare a
raporturilor de serviciu ale acestora
14. Participarea la activitatea
de elaborare de proiecte de materiale în vederea informării Parlamentului,
precum si de răspuns la
întrebările si interpelările
formulate de către deputaţi sau senatori, în temeiul art. 111 alin. (1) si art. 112 alin. (1) din Constituţia
României, republicată
15. Asigurarea participării la organizarea, în baza
dispoziţiilor primite, de întâlniri de lucru între primul-ministru si alţi reprezentanţi ai Guvernului,
conducerea Ministerului Administraţiei si Internelor,
pe de o parte, si prefecţi, subprefecţi, reprezentanţi
ai serviciilor publice deconcentrate si ai autorităţilor administraţiei publice locale, pe de altă parte
16. Participarea la activitatea de elaborare de
proiecte de acte normative din domeniul administraţiei
publice
17. Organizarea activităţii privind realizarea, din
însărcinarea conducerii Ministerului Administraţiei si Internelor, de analize privind problematica rezultată din
sesizările cu privire la procesul de restituire a proprietăţilor, pe baza
datelor transmise de către prefecţi
Identificarea funcţiei publice corespunzătoare
postului
1. Denumire: funcţie publică de
conducere
2. Clasa: I
3. Gradul profesional: superior
4. Vechimea (în specialitate necesară): 5 ani
Sfera relaţională a titularului postului
1. Sfera relaţională internă:
a) Relaţii ierarhice:
- subordonat faţă de: secretarul de stat
- superior pentru: directorul general adjunct, sefii de
serviciu si celelalte persoane din cadrul Direcţiei
generale pentru relaţiile cu instituţiile prefectului
b) Relaţii funcţionale: cu toate structurile
Ministerului Administraţiei si Internelor
c) Relaţii de control: faţă de
directorul general adjunct, sefii de serviciu si celelalte persoane din cadrul Direcţiei generale pentru relaţiile
cu instituţiile prefectului
d) Relaţii de reprezentare:
2. Sfera relaţională externă:
a) cu autorităţi si instituţii publice: relaţii necesare realizării atribuţiilor din
fisa postului
b) cu organizaţii internaţionale:
c) cu persoane juridice private:
3. Limite de competenţă: în limitele stabilite prin fisa postului si prin regulamentul de
organizare si funcţionare
4. Delegarea de atribuţii si competenţă: către directorul general
adjunct
Intocmit de:
1. Numele si prenumele:
2. Funcţia publică de
conducere: secretar de stat
3. Semnătura.......................................
4. Data întocmirii..................................
Luat la cunostinţă de către
ocupantul postului
1. Numele si prenumele
2. Semnătura.......................................
3. Data.................................................
ANEXA Nr. 5
la regulament
MINISTERUL ADMINISTRAŢIEI Sl
INTERNELOR
DIRECŢIA GENERALA PENTRU RELAŢIILE CU INSTITUŢIILE
PREFECTULUI
Aprob
FISA POSTULUI Nr..............
Informaţii generale privind postul
1. Denumirea postului: director general adjunct
2. Nivelul postului: de conducere
3. Scopul principal al postului: monitorizarea si îndrumarea de specialitate asupra activităţii personalului din
cadrul Direcţiei generale pentru relaţiile cu instituţiile prefectului cu
privire la realizarea atribuţiilor prevăzute de lege si a sarcinilor încredinţate
Condiţii specifice pentru ocuparea postului
1. Studii de specialitate: superioare
2. Perfecţionări (specializări): program de formare
specializată sau de perfecţionare în administraţia publică
3. Cunostinţe de
operare/programare pe calculator (necesitate si nivel):
operare pe calculator, nivel mediu
4. Limbi străine (necesitate si nivel de cunoastere): o limbă de
circulaţie internaţională, nivel mediu
5. Abilităţi, calităţi si aptitudini necesare: capacitate de organizare si coordonare, abilităţi în gestionarea resurselor umane, abilităţi
de comunicare
6. Cerinţe specifice:
disponibilitate pentru călătorii frecvente si delegări
7. Competenţa managerială (cunostinţe de management, calităţi si aptitudini manageriale): calităţi si aptitudini manageriale
Atribuţiile postului
1. Participarea la organizarea si conducerea activităţii de coordonare, monitorizare, îndrumare
metodologică si control al
activităţii prefecţilor, subprefectilor si a personalului din cadrul instituţiilor prefectului cu privire la
realizarea atribuţiilor prevăzute de lege, precum si a sarcinilor încredinţate
2. Participarea la organizarea
activităţii privind realizarea, din însărcinarea conducerii Ministerului
Administraţiei si Internelor,
a controlului ierarhic de specialitate asupra activităţii prefecţilor,
subprefectilor si a
personalului instituţiilor prefectului, cu privire la realizarea atribuţiilor
prevăzute de lege, precum si a
sarcinilor încredinţate
3. Participarea la organizarea
activităţii privind întocmirea, la solicitarea conducerii Ministerului
Administraţiei si Internelor,
de informări, sinteze, note, analize si rapoarte, pe diverse teme din domeniul de competenţă al Direcţiei
generale pentru relaţiile cu instituţiile prefectului, pe baza datelor
transmise de către prefecţi
4. Coordonarea activităţii de
monitorizare a evoluţiei situaţiilor de urgenţă, a măsurilor dispuse de către
prefecţi, precum si de
întocmire de informări, sinteze, rapoarte si note cu privire la pagubele produse ca urmare a fenomenelor naturale
periculoase, în vederea informării conducerii Ministerului Administraţiei si Internelor
5. Coordonarea activităţii de
întocmire a proiectelor de hotărâre a Guvernului privind alocarea de sume din
fondurile de rezervă pentru înlăturarea efectelor unor calamităţi naturale sau
referitoare la acordarea de ajutoare umanitare de primă urgenţă populaţiei
afectate de dezastre, în baza propunerilor prefecţilor si ale consiliilor judeţene
6. Coordonarea activităţii de
verificare a proiectelor de acte normative iniţiate de către prefecţi, de
consiliile judeţene, respectiv de Consiliul General al Municipiului Bucuresti, în vederea formulării de propuneri
conform prevederilor legale
7. Coordonarea activităţii de
verificare a ordinelor cu caracter normativ emise si
transmise de către prefecţi si
informarea conducerii Ministerului Administraţiei si Internelor în vederea formulării de propuneri privind anularea
acestora, dacă este cazul
8. Participarea la activitatea
de coordonare a operaţiunilor desfăsurate de instituţiile prefectului în cadrul proceselor electorale si cu ocazia referendumurilor naţionale
9. Coordonarea activităţii de
monitorizare si îndrumare
metodologică a activităţii structurilor de specialitate în domeniul serviciilor
publice deconcentrate, din cadrul instituţiilor prefectului
10. Coordonarea activităţii de monitorizare a
activităţii colegiilor prefecturale
11. Coordonarea activităţii de
monitorizare a situaţiei privind restituirea proprietăţilor
12. Coordonarea activităţii de
pregătire si elaborare a
proiectelor de hotărâre a Guvernului pentru numirea/eliberarea în/din funcţie a
prefecţilor si subprefectilor, precum si a actelor
administrative de modificare a raporturilor de serviciu ale acestora
13. Participarea la organizarea, în baza dispoziţiilor
primite, de întâlniri de lucru între primul-ministru si alţi reprezentanţi ai Guvernului, conducerea Ministerului
Administraţiei si Internelor, pe de o parte, si prefecţi, subprefecţi, reprezentanţi ai
serviciilor publice deconcentrate si ai autorităţilor
administraţiei publice locale, pe de altă parte
14. Participarea la activitatea
de elaborare a proiectelor de materiale în vederea informării Parlamentului,
precum si de răspuns la
întrebările si interpelările
formulate de către deputaţi sau senatori, în temeiul art. 111 alin.(1) si art. 112 alin.(1) din Constituţia
României, republicată
15. Participarea la activitatea
de elaborare a proiectelor de acte normative din domeniul administraţiei
publice
16. Indeplinirea atribuţiilor
specifice funcţionarului de securitate
17. Coordonarea activităţii
privind analizarea petiţiilor repartizate Direcţiei generale pentru relaţiile
cu instituţiile prefectului si
iniţierea demersurilor necesare în vederea soluţionării
lor
18. Realizarea acţiunilor necesar a fi întreprinse în
baza corespondenţei între structurile centrale ale Ministerului Administraţiei si Internelor
Identificarea funcţiei publice corespunzătoare postului
1. Denumire: funcţie publică de
conducere
2. Clasa: I
3. Gradul profesional: superior
4. Vechimea (în specialitate necesară): 5 ani
Sfera relaţională a titularului postului
1. Sfera relaţională internă:
a) Relaţii ierarhice
- subordonat faţă de: directorul general
- superior pentru: sefii de serviciu si celelalte persoane din cadrul Direcţiei generale pentru relaţiile
cu instituţiile prefectului
b) Relaţii funcţionale: cu toate structurile
Ministerului Administraţiei si Internelor
c) Relaţii de control: faţă de sefii
de serviciu si celelalte persoane din cadrul Direcţiei
generale pentru relaţiile cu instituţiile prefectului
d) Relaţii de reprezentare:
2. Sfera relaţională externă:
a) cu autorităţi si instituţii publice: relaţii necesare realizării atribuţiilor din
fisa postului
b) cu organizaţii internaţionale:
c) cu persoane juridice private:
3. Limite de competenţă: în
limitele stabilite prin fisa postului si prin
regulamentul de organizare si funcţionare
4. Delegarea de atribuţii si competenţă:
Intocmit de:
1. Numele si prenumele:
2. Funcţia publică de
conducere: director general
3. Semnătura.........................................
4. Data întocmirii....................................
Luat la cunostinţă de către
ocupantul postului
1. Numele si prenumele:................................
2. Semnătura...........................
3. Data..............................
Avizat Direcţia generală de informaţii si protecţie internă:
1. Numele si
prenumele:...................................
2. Funcţia publică: director
general
3. Semnătura...........................
4. Data:............................
Contrasemnează:
1. Numele si
prenumele:...................................
2. Funcţia: secretar de stat
3. Semnătura...........................
4. Data:............................